Air Cleaner ([03.2001 - ] (9804-0103)7KE..KF80..SRF ; (0103- )7KE..KF8# ..PHL) Diagram Toyota INNOVA/ KIJANG/ REVO/ UNSER/ ZACE
- Year
- 1998 - 2002
- Sales region
- General
- Frame
- KF80
- grade
- GLX
- ENGINE
- 7KE
- TRANSMISSION
- MTM
- DESTINATION
- PHL
- DECK
- LUB
- CAB
- SRF
- Model
- REVO
- From
- 10.1998
- To
- 11.2002
- Gear Shift Type
- 5F
- Vehicle Model
- REVO
- Driver's Position
- LHD
- Building Condition
- CBU
Difficulties in parts search?
Difficulties in parts search?
| Description | OEM Part # | Price | |||
|---|---|---|---|---|---|
|
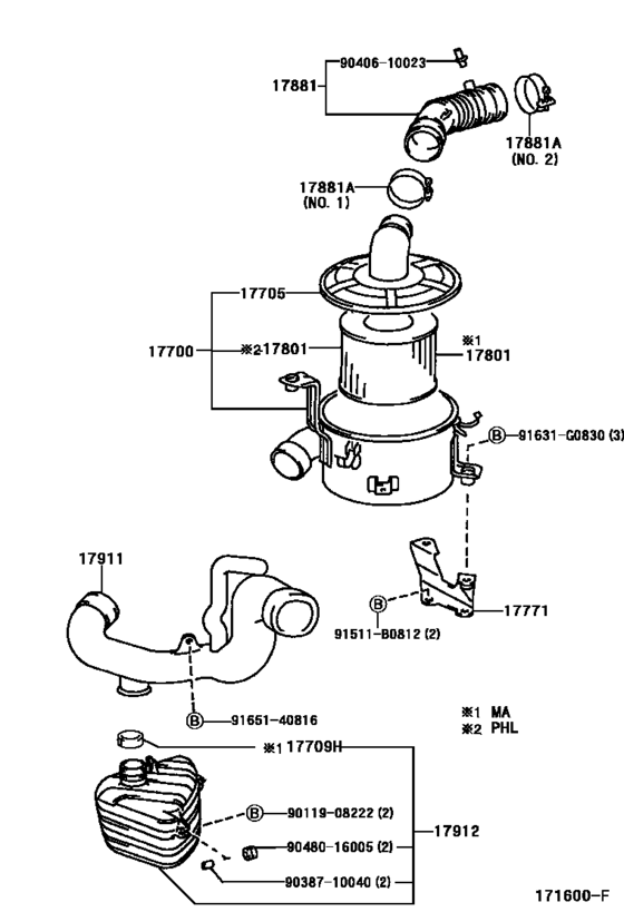
17700
|
17700
17700-06040
Cleaner Assy, Air
[03.1999 - 11.2002] 7KE..KF80..PHL |
17700-06040 |
— | ||
|
17700
|
17700
17700-13850 Cleaner Assy, AirAIR [10.1998 - 03.1999] 7KE..KF80..PHL |
17700-13850 |
US $413.50 |
||
|
17705
|
17705
17705-06040
Cap Sub-Assy, Air Cleaner
[03.1999 - 12.2002] 7KE..KF80..SRF |
17705-06040 |
— | ||
|
17705
|
17705
17705-13250
Cap Sub-Assy, Air Cleaner
[04.1998 - 03.1999] 7KE..KF80..SRF |
17705-13250 |
— | ||
|
17771
|
17771
17771-05010
Bracket, Air Cleaner Inlet Duct
[04.1998 - 02.2003] 7KE..KF82..RHD;7KE..KF60,72,80 |
17771-05010 |
— | ||
|
17801
|
17801
17801-05040
Element Sub-Assy, Air Cleaner Filter
[04.2001 - 11.2002] 2L..LF60,72,80,82..GEN,PHL; 1RZE..RZF71,81; 7KE..KF72,8#..GEN,PHL |
17801-05040 |
— | ||
|
17801
|
17801
17801-35030 Element Sub-Assy, Air Cleaner FilterAIR CLEANER FILTER [10.1998 - 04.2001] 7KE..KF80..PHL |
17801-35030 |
US $30.23 |
||
|
17881
|
17881
17881-13190
Hose, Air Cleaner, No.1
[04.1998 - 03.2001] 7KE..KF80..SRF |
17881-13190 |
— | ||
|
17881A
|
17881A
90460-70003 Clamp Or Clip(For Air Hose, No.1)[04.1998 - 02.2003] 7KE..KF82..RHD;7KE..KF60,72,80 NO.2 |
90460-70003 |
from US $6.27 |
||
|
17881A
|
17881A
96111-10750 Clamp, Hose(For Air Cleaner Duct)[04.1998 - 03.2001] 7KE..KF60,80 NO.1 |
96111-10750 |
from US $3.40 |
||
|
17911
|
17911
52810-0B040
Duct, Cool Air Intake, No.1
[10.1998 - 11.2002] 7KE..KF80..PHL; 2L..LF80..LHD |
52810-0B040 |
— | ||
|
17912
|
17912
52820-0B020
Duct, Cool Air Intake, No.2
[10.1998 - 11.2002] 7KE..KF80..PHL; 2L..LF80..LHD |
52820-0B020 |
— | ||
|
91511B0812
|
91511B0812
91511-B0812 BOLT FLANGE |
91511-B0812 |
US $1.61 |
||
|
91631G0830
|
91631G0830
91631-G0830 BOLT WWASHER |
91631-G0830 |
US $2.87 |
||
|
9011908222
|
9011908222
90119-08222
New Genuine Part
|
90119-08222 |
— | ||
|
9038710040
|
9038710040
90387-10040
Cushion(For Vane Pump Oil Reservoir)
|
90387-10040 |
— | ||
|
9040610023
|
9040610023
90406-10023 New Genuine Part |
90406-10023 |
US $1.16 |
||
|
9048016005
|
9048016005
90480-16005 Grommet(For Air Cleaner Bracket) |
90480-16005 |
US $11.11 |
||
|
9165140816
|
9165140816
91651-40816 BOLT |
91651-40816 |
from US $0.98 |