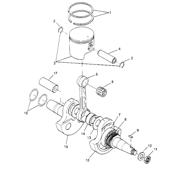
Piston and crankshaft (6x6 300 W948730) Diagram Polaris 300 6X6
- Model code
- W948730
- Year
- 1994
- Sales region
- General
Difficulties in parts search?
Difficulties in parts search?
| Description | OEM Part # | Price | |||
|---|---|---|---|---|---|
|
1
|
1
3084810
Ring,piston,(,25mm o/s), *
.25MM O/S;2;.010"/0.25mm O/S; |
3084810 |
— | ||
|
1
|
1
3084809
Ring,piston,std.(2)
2;Std.; |
3084809 |
— | ||
|
2
|
2
3084167 Clip,piston pin(10)10; |
3084167 |
US $91 |
||
|
3
|
3
3084806
Piston asm,std.
Std.; |
3084806 |
— | ||
| replacement | |||||
|
3
|
3
3085894 Piston,standardStd.; |
3085894 |
US $165.13 |
||
|
3
|
3
3084807
Piston asm,
.25MM O/S;.010"/0.25mm O/S; |
3084807 |
— | ||
| replacement | |||||
|
3
|
3
3085895 Piston,,010"/,25mm o/s.25MM O/S;.010"/0.25mm O/S; |
3085895 |
US $152.43 |
||
|
3
|
3
3084808
Piston asm,
.50MM O/S;.020"/0.50mm O/S; |
3084808 |
— | ||
| replacement | |||||
|
3
|
3
3085896 Piston,,020"/,50mm o/s.50MM O/S;.020"/0.50mm O/S; |
3085896 |
US $152.43 |
||
|
4
|
4
3083858 Pin, piston |
3083858 |
US $29.54 |
||
|
5
|
5
3082790 Rod connecting * |
3082790 |
US $162.51 |
||
|
6
|
6
3083626 Bearing, small end * |
3083626 |
US $29.54 |
||
|
7
|
7
3084580 Bearing, ball * |
3084580 |
US $36.45 |
||
|
8
|
8
3083745
Gear, crankshaft
|
3083745 |
— | ||
|
9
|
9
3081543 Key woodruff |
3081543 |
US $9.15 |
||
|
10
|
10
3083904
Washer
|
3083904 |
— | ||
| replacement | |||||
|
10
|
10
3086767
Washer
|
3086767 |
— | ||
|
11
|
11
3083905
Nut,lock
|
3083905 |
— | ||
|
12
|
12
3084803
Crankshaft asm,
Incl. 5,7,8,13-15,17; |
3084803 |
— | ||
|
12
|
12
3084804
Crankshaft #1
|
3084804 |
— | ||
|
13
|
13
3083804 Spacer |
3083804 |
US $17.24 |
||
|
14
|
14
3083803 Bearing,lge,end |
3083803 |
US $28.58 |
||
|
15
|
15
3084805
Crankshaft #2
|
3084805 |
— | ||
|
16
|
16
3084779
Spacer #2
|
3084779 |
— | ||
| replacement | |||||
|
16
|
16
3086766 Spacer-2 |
3086766 |
US $21.49 |
||
|
16
|
16
3084778
Spacer #1
|
3084778 |
— | ||
| replacement | |||||
|
16
|
16
3086765 Spacer-1,0,2mm |
3086765 |
US $6.20 |
||
|
17
|
17
3082796 Crank pin pto |
3082796 |
US $26.41 |
||