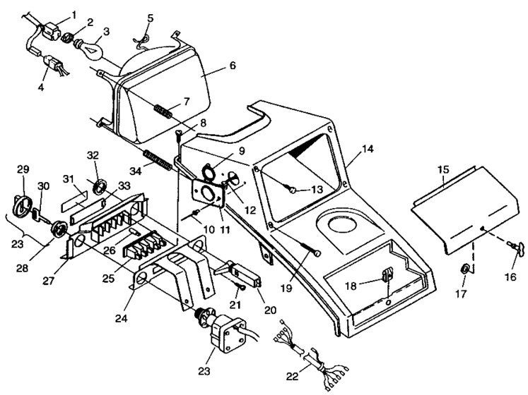
Headlight (Sportsman 4x4 W968040) Diagram Polaris SPORTSMAN 4X4
- Model code
- W968040
- Year
- 1996
- Sales region
- General
Difficulties in parts search?
Difficulties in parts search?
| Description | OEM Part # | Price | |||
|---|---|---|---|---|---|
|
1
|
1
2460424
Harness, headlight
|
2460424 |
— | ||
|
2
|
2
4032066 Cover,socket,h/l, |
4032066 |
US $24.40 |
||
|
3
|
3
4030028 Bulb, h/l |
4030028 |
US $28.93 |
||
|
4
|
4
4040024 Hsg,dual,female |
4040024 |
US $4.94 |
||
|
5
|
5
4032063 Retainer,h/l bulb |
4032063 |
US $10.01 |
||
|
6
|
6
4032065
H/l asm,w/bulbseal
Incl. 3, 5; |
4032065 |
— | ||
|
7
|
7
4032002 Spring-adj |
4032002 |
US $22.89 |
||
|
8
|
8
7512017 Screw10; |
7512017 |
US $2.45 |
||
|
9
|
9
5411081 Cover,12volt plug |
5411081 |
US $9.15 |
||
|
10
|
10
7621334 Rivet(50)50; |
7621334 |
US $187.50 |
||
|
11
|
11
2410025
Powerplug asm,12v
|
2410025 |
— | ||
|
12
|
12
2460471 Harness,12v outlet |
2460471 |
US $6.60 |
||
|
13
|
13
4032003
Screw, adj.
10; |
4032003 |
— | ||
|
14
|
14
5431660 Cover,oiltank/hl,w/hole |
5431660 |
US $81.76 |
||
|
15
|
15
5431201-070 Door,access,blk, |
5431201-070 |
US $76.81 |
||
|
16
|
16
7670064 Fastener, 1/4 turn10; |
7670064 |
US $7.68 |
||
|
17
|
17
7670065 Ring,split retainer10; |
7670065 |
US $2.45 |
||
|
18
|
18
7670066 Receptacle,clip-on10; |
7670066 |
US $4.73 |
||
|
19
|
19
4032042 Screw,adjust,(atv)ATV;10; |
4032042 |
US $3.94 |
||
|
20
|
20
7080371 Cable, choke |
7080371 |
US $86.68 |
||
|
20
|
20
2200188 Kit-choke control |
2200188 |
US $24.61 |
||
|
21
|
21
7511862 Screw10; |
7511862 |
US $3.75 |
||
|
22
|
22
2460592
Harness,h/l,w/ con
See Footnote with Ref. 12; |
2460592 |
— | ||
|
23
|
23
4110194 Switch, ignitionIncl. Key; |
4110194 |
US $123.11 |
||
|
23
|
23
4110209 Switch,ign,w/ con |
4110209 |
US $93.56 |
||
|
24
|
24
5220965-067 Brkt, ign, panel |
5220965-067 |
US $18.76 |
||
|
25
|
25
4032037 Strip, socket |
4032037 |
US $33.50 |
||
|
26
|
26
4030042 Bulb |
4030042 |
US $4.34 |
||
|
27
|
27
5430995
Panel, ignition
|
5430995 |
— | ||
|
28
|
28
5432090
Nut,ign,switch
|
5432090 |
— | ||
|
29
|
29
5431964
Cover, key
|
5431964 |
— | ||
| replacement | |||||
|
29
|
29
5433534 Key cover-keyswitch |
5433534 |
US $19.69 |
||
|
30
|
30
4110141 Keyblank,atv ign,31 seriesSee Footnote; |
4110141 |
US $13.20 |
||
|
31
|
31
7072528
Decal, panel
No Longer Available; |
7072528 |
— | ||
|
32
|
32
7080229 Nut |
7080229 |
US $16.24 |
||
|
33
|
33
2652049
Lens asm,pilot light
Incl. 31; |
2652049 |
— | ||
|
34
|
34
4032041
Spring,adj,
|
4032041 |
— | ||