Oil pump (Trail Boss W97AA25C) Diagram Polaris TRAIL BOSS
- Model code
- W97AA25C
- Year
- 1997
- Sales region
- General
Difficulties in parts search?
Difficulties in parts search?
| Description | OEM Part # | Price | |||
|---|---|---|---|---|---|
|
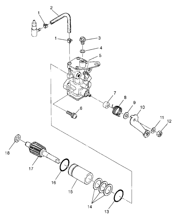
1
|
1
3083141 Clamp-hose(10)10; |
3083141 |
US $1.89 |
||
|
2
|
2
3084467 Asm,,pipe,vinyl,90mm |
3084467 |
US $18.32 |
||
|
3
|
3
3083125 Screw-air vent |
3083125 |
US $16.24 |
||
|
4
|
4
3083126 Packing(10)10; |
3083126 |
US $1.89 |
||
|
5
|
5
3085542
Pump asm,oil
Incl. 3, 4, 7-13; |
3085542 |
— | ||
| replacement | |||||
|
5
|
5
3085624
Pump asm, oil
Incl. 3, 4, 7-13; |
3085624 |
— | ||
|
6
|
6
3083783 Asm,,screw & washer10; |
3083783 |
US $0.79 |
||
|
7
|
7
3083758 Cap |
3083758 |
US $7.09 |
||
|
8
|
8
3083123
Spring-return
|
3083123 |
— | ||
|
9
|
9
3083757 Collar, camshaft |
3083757 |
US $5.43 |
||
|
10
|
10
3083935
Lever, control
|
3083935 |
— | ||
|
11
|
11
3083121 Washer-spring(10)10; |
3083121 |
US $1.89 |
||
|
12
|
12
3083120 Nut(10)10; |
3083120 |
US $1.89 |
||
|
13
|
13
3083127 O ring |
3083127 |
US $12.20 |
||
|
14
|
14
3083673 Spacer 3,,6mm.6mm; |
3083673 |
US $2.45 |
||
|
14
|
14
3083671 Spacer 1,,15mm.15mm; |
3083671 |
US $2.45 |
||
|
14
|
14
3083672 Spacer 2,,3mm.3mm; |
3083672 |
US $2.45 |
||
|
15
|
15
3083353 BushingOIL PUMP; |
3083353 |
US $34.49 |
||
|
16
|
16
3083129 O ring |
3083129 |
US $13.20 |
||
|
17
|
17
3084825
Gear, small
|
3084825 |
— | ||
| replacement | |||||
|
17
|
17
3083429 Gear, small |
3083429 |
US $111.30 |
||
|
18
|
18
3083428 Spacer |
3083428 |
US $1.28 |
||