Mudguard Diagram Suzuki LT-A500 KingQuad 500AXi Limited Edition
- Model code
- LT-A500XZ L4
- Engine Capacity
- 493
- Year
- 2014
- Sales region
- USA/Canada (P3/P28/P33)
- Model
- KingQuad 500
Difficulties in parts search?
Parts list
Difficulties in parts search?
| Description | OEM Part # | Price | |||
|---|---|---|---|---|---|
|
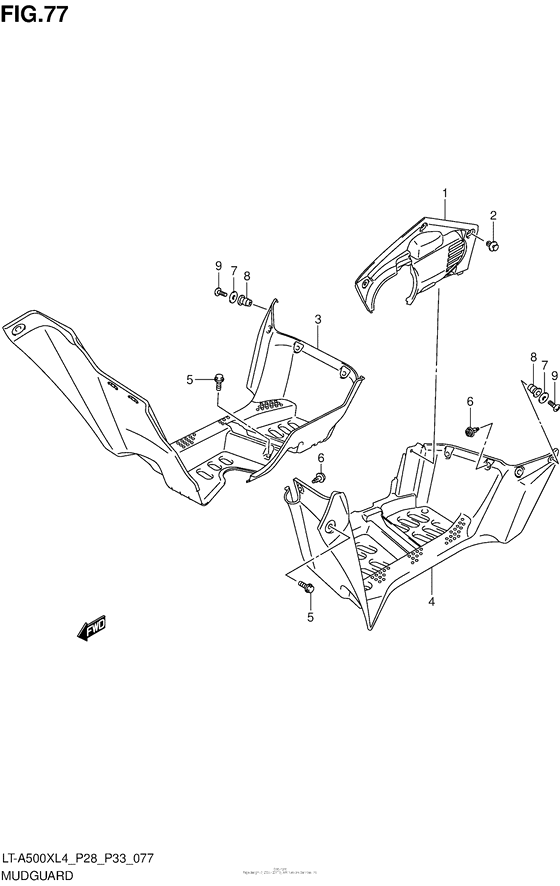
1
|
1
63342-31G02-291 LID,FOOTREST GUARD |
63342-31G02-291 |
US $137.79 |
||
|
2
|
2
09409-08335-000 CLIP |
09409-08335-000 |
from US $1.87 |
||
|
3
|
3
63331-31G01-291
MUDGUARD,FOOTREST,R
|
63331-31G01-291 |
— | ||
| replacement | |||||
|
3
|
3
63331-31G02-291
MUDGUARD,FRONT
|
63331-31G02-291 |
— | ||
|
4
|
4
63341-31G01-291
MUDGUARD,FOOTREST,L
|
63341-31G01-291 |
— | ||
| replacements | |||||
|
4
|
4
63341-31G02-291
Mudguard,footrest,l
|
63341-31G02-291 |
— | ||
|
4
|
4
63341-31G03-291 Mudguard,footrest,l |
63341-31G03-291 |
US $213.86 |
||
|
5
|
5
09111-06088-000 BOLT(6X13.5) |
09111-06088-000 |
from US $1.18 |
||
|
6
|
6
09409-10306-000 CLIP |
09409-10306-000 |
from US $1.68 |
||
|
7
|
7
09160-05046-000 WASHER(5.5X20X1.4) |
09160-05046-000 |
from US $3.20 |
||
|
8
|
8
09159-05019-000 NUT |
09159-05019-000 |
from US $2.28 |
||
|
9
|
9
02142-0520B-000 SCREWScrew, rear |
02142-0520B-000 |
from US $0.76 |
||