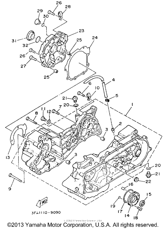
Crankcase Diagram Yamaha BREEZE
- Model code
- YFA1E
- Engine Capacity
- 124
- Year
- 1993
- Sales region
- USA
- Power
- 8,6 hp
- Stroke (2-stroke or 4-stroke)
- 4 stroke
- 2WD/4WD/AWD
- 2WD
- Model
- Breeze
Difficulties in parts search?
Difficulties in parts search?
| Description | OEM Part # | Price | |||
|---|---|---|---|---|---|
|
1
|
1
3FA-15100-00-00 Crankcase Assy |
3FA-15100-00-00 |
from US $852.38 |
||
|
2
|
2
59V-11167-00-00 Pipe, Breather 2 |
59V-11167-00-00 |
from US $5.10 |
||
|
3
|
3
995-10120-16-00
Pin, Dowel
|
995-10120-16-00 |
— | ||
| replacement | |||||
|
3
|
3
99530-12016-00 Pin, Dowel |
99530-12016-00 |
from US $1.42 |
||
|
4
|
4
90445-121F6-00 Hose (L700) |
90445-121F6-00 |
from US $10.91 |
||
|
5
|
5
904-67130-64-00 Clip |
904-67130-64-00 |
from US $1.42 |
||
| replacement | |||||
|
5
|
5
90467-13133-00 Clip(3Yx) |
90467-13133-00 |
from US $1.42 |
||
|
6
|
6
985-80060-30-00
Screw Pan Head
|
985-80060-30-00 |
— | ||
| replacement | |||||
|
6
|
6
97885-06030-00 Screw, Pan Head |
97885-06030-00 |
from US $1.35 |
||
|
7
|
7
98580-06040-00 Screw, Pan Head (90501-06040-00 |
98580-06040-00 |
from US $1.21 |
||
|
8
|
8
925-80065-60-00
Screw, Pan Head (92580-06560-00
92580-06560-00 |
925-80065-60-00 |
— | ||
| replacement | |||||
|
8
|
8
985-80065-60-00 Screw, Pan Head (92580-06560-0092580-06560-00 |
985-80065-60-00 |
from US $7.51 |
||
|
9
|
9
985-01060-70-00
Screw Pan Head
|
985-01060-70-00 |
— | ||
| replacement | |||||
|
9
|
9
98580-06570-00 Screw, Pan Head |
98580-06570-00 |
from US $6.52 |
||
|
10
|
10
90465-06332-00 Clamp(Ja1) |
90465-06332-00 |
from US $2.41 |
||
| replacement | |||||
|
10
|
10
90465-06376-00 Clamp |
90465-06376-00 |
from US $2.41 |
||
|
11
|
11
98501-08012-00
Screw, Pan Head (9806-08012)
9806-08012 |
98501-08012-00 |
— | ||
| replacement | |||||
|
11
|
11
985-80080-12-00
Screw, Pan Head (9806-08012)
9806-08012 |
985-80080-12-00 |
— | ||
|
12
|
12
90201-08087-00 Washer, Plate 3411117500 |
90201-08087-00 |
from US $1.28 |
||
|
13
|
13
3FA-15462-10-00 Gasket, Crankcase Cover 3 |
3FA-15462-10-00 |
from US $3.64 |
||
|
14
|
14
50M-15418-00-00 Cover, Chain Case |
50M-15418-00-00 |
from US $18.20 |
||
|
15
|
15
93102-22294-00 Oil Seal |
93102-22294-00 |
from US $4.96 |
||
|
16
|
16
93605-18078-00 Pin, Dowel |
93605-18078-00 |
from US $2.13 |
||
|
17
|
17
93210-71462-00 O-Ring |
93210-71462-00 |
from US $5.10 |
||
|
18
|
18
98701-06014-00 Screw Flat Head |
98701-06014-00 |
from US $2.27 |
||
| replacements | |||||
|
18
|
18
98707-06014-00 Screw, Flat |
98707-06014-00 |
from US $1.34 |
||
|
18
|
18
98707-06016-00 Screw, Flat Head |
98707-06016-00 |
from US $1.34 |
||
|
19
|
19
93210-07540-00 O-Ring |
93210-07540-00 |
from US $1.56 |
||
|
20
|
20
214-11198-01-00 Washer-gasket |
214-11198-01-00 |
from US $1.66 |
||
|
21
|
21
903-40141-32-00 Plug, Straight Screw |
903-40141-32-00 |
from US $1.42 |
||
|
22
|
22
90480-13018-00 Grommet |
90480-13018-00 |
from US $1.56 |
||
|
23
|
23
3FA-15787-00-00 Adaptor |
3FA-15787-00-00 |
from US $110.11 |
||
|
24
|
24
3FA-15461-10-00 Gasket, Crankcase Cover 2 |
3FA-15461-10-00 |
from US $6.30 |
||
|
25
|
25
995-30100-14-00
Pin, Dowel
|
995-30100-14-00 |
— | ||
| replacements | |||||
|
25
|
25
99530-10114-00 Pin, Dowel |
99530-10114-00 |
from US $1.66 |
||
|
25
|
25
995-10101-14-00
Pin, Dowel
|
995-10101-14-00 |
— | ||
|
26
|
26
985-80060-30-00
Screw Pan Head
|
985-80060-30-00 |
— | ||
| replacement | |||||
|
26
|
26
97885-06030-00 Screw, Pan Head |
97885-06030-00 |
from US $1.35 |
||
|
27
|
27
98580-06040-00 Screw, Pan Head (90501-06040-00 |
98580-06040-00 |
from US $1.21 |
||
|
28
|
28
90465-06332-00 Clamp(Ja1) |
90465-06332-00 |
from US $2.41 |
||
| replacement | |||||
|
28
|
28
90465-06376-00 Clamp |
90465-06376-00 |
from US $2.41 |
||
|
29
|
29
90340-14117-00 Plug, Straight Screw |
90340-14117-00 |
from US $4.11 |
||
|
30
|
30
93210-14369-00 O-Ring |
93210-14369-00 |
from US $1.70 |
||
|
31
|
31
90340-36078-00 Plug, Straight Screw |
90340-36078-00 |
from US $6.80 |
||
|
32
|
32
93210-36510-00 O-Ring |
93210-36510-00 |
from US $0.59 |
||
| replacements | |||||
|
32
|
32
93210-357A3-00 O-Ring |
93210-357A3-00 |
US $1.70 |
||
|
32
|
32
93210-35804-00 O-Ring |
93210-35804-00 |
from US $0.65 |
||