Headlight Diagram Yamaha GRIZZLY 700 Grizzly 700
- Model code
- 5C0A
- Engine Capacity
- 700
- Year
- 2009
- Sales region
- USA
- Базовая модель
- YFM7FGYL
- Colour
- Dark Purpulish Blue Solid N/Pastel Deep Green/Black Metallic J
- Power
- 47 hp
- Stroke (2-stroke or 4-stroke)
- 4 stroke
- 2WD/4WD/AWD
- 4WD
- Model
- Grizzly 700
Difficulties in parts search?
Difficulties in parts search?
| Description | OEM Part # | Price | |||
|---|---|---|---|---|---|
|
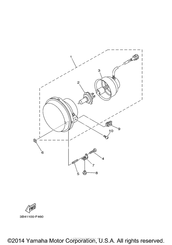
1
|
1
28P-84300-00-00 Headlight Assy |
28P-84300-00-00 |
from US $163.01 |
||
|
2
|
2
3B4-84314-00-00 Bulb, Headlight (1 |
3B4-84314-00-00 |
from US $33.16 |
||
| replacements | |||||
|
2
|
2
5ST-H4314-10-00 Bulb, Headlight (12V-35/35W) |
5ST-H4314-10-00 |
from US $30.22 |
||
|
2
|
2
1ML-84314-00-00
Headlight Bulb 12V 35/35W
|
1ML-84314-00-00 |
— | ||
|
3
|
3
3B4-84340-00-00 Socket Cord Assy 1 |
3B4-84340-00-00 |
from US $29.10 |
||
|
4
|
4
98502-03530-00 Screw, Pan Head |
98502-03530-00 |
from US $1.21 |
||
|
5
|
5
90501-05764-00 Spring, Compression |
90501-05764-00 |
from US $1.84 |
||
|
6
|
6
2GU-84334-00-00 Nut, Adjusting |
2GU-84334-00-00 |
from US $1.66 |
||
|
7
|
7
5GH-84703-10-00 Bracket |
5GH-84703-10-00 |
from US $2.55 |
||
|
8
|
8
90159-05044-00 Screw, With Washer |
90159-05044-00 |
from US $1.70 |
||
|
9
|
9
90183-05008-00 Nut, Spring |
90183-05008-00 |
from US $2.55 |
||
|
10
|
10
90154-05021-00 Screw, Binding |
90154-05021-00 |
from US $1.70 |
||