Cylinder. crankcase Diagram Yamaha 40 M(W/E)HS/L
- Year
- 1998
- Model
- 40Q
- Model code
- 6R6
- Year
- 1998
- Stroke (2-stroke or 4-stroke)
- 2 stroke
- Power
- 40
- Sales region
- Europe (General) (999)
- Colour
- Dark Bluish Gray Metallic 2 (DBNM2; 004D)
Difficulties in parts search?
Difficulties in parts search?
| Description | OEM Part # | Price | |||
|---|---|---|---|---|---|
|
01
|
01
6R6-W0090-01-4D
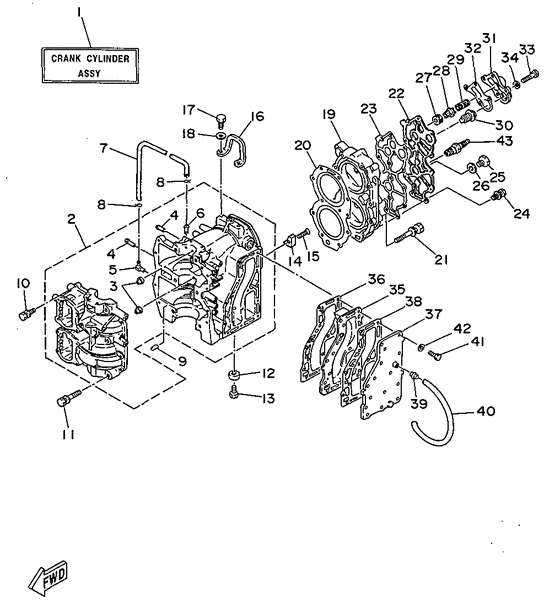
Crank Cylinder Assembly (Ref. #2~42)
|
6R6-W0090-01-4D |
— | ||
| replacement | |||||
|
01
|
01
999-99999-99-00
Not Available
|
999-99999-99-00 |
— | ||
|
02
|
02
6E9-15100-00-94
Crankcase Assembly
|
6E9-15100-00-94 |
— | ||
| replacement | |||||
|
02
|
02
6E9-15100-00-00 BRACKET, STEERING |
6E9-15100-00-00 |
US $1,030.55 |
||
|
03
|
03
663-11518-01-00 Lock, Bearing |
663-11518-01-00 |
from US $2.70 |
||
|
04
|
04
676-14485-00-00 Pipe, Joint |
676-14485-00-00 |
from US $6.52 |
||
|
05
|
05
650-11370-00-00
Check Valve Assy
|
650-11370-00-00 |
— | ||
| replacement | |||||
|
05
|
05
650-11370-01-00 Check Valve Assy |
650-11370-01-00 |
from US $14.48 |
||
|
06
|
06
624-14485-00-00 Pipe, Joint |
624-14485-00-00 |
from US $5.24 |
||
|
07
|
07
676-24312-00-00
Pipe 2
|
676-24312-00-00 |
— | ||
|
08
|
08
90467-06016-00 Clip |
90467-06016-00 |
from US $2.55 |
||
|
09
|
09
93608-12063-00 Pin, Dowel |
93608-12063-00 |
from US $1.70 |
||
|
10
|
10
90119-06M12-00 Bolt, With Washer |
90119-06M12-00 |
from US $3.97 |
||
|
11
|
11
90119-10M22-00 Bolt, With Washer |
90119-10M22-00 |
US $6.86 |
||
|
12
|
12
676-45251-00-00 Anode |
676-45251-00-00 |
from US $9.09 |
||
|
13
|
13
97095-06016-00 Bolt |
97095-06016-00 |
from US $1.28 |
||
| replacement | |||||
|
13
|
13
97D95-06016-00 Bolt, Hexagon Deep Recess |
97D95-06016-00 |
from US $1.28 |
||
|
14
|
14
676-11325-00-00 Anode |
676-11325-00-00 |
from US $8.93 |
||
|
15
|
15
98780-06025-00 Screw Flat Head |
98780-06025-00 |
from US $3.26 |
||
|
16
|
16
676-11119-00-00
Anneau, Levage
Ur 40qmh/40qwc |
676-11119-00-00 |
— | ||
|
16
|
16
6E9-11119-00-00 Hanger, EngineUr 40qe |
6E9-11119-00-00 |
US $31.88 |
||
| replacement | |||||
|
16
|
16
67H-11119-01-00 Hanger, EngineUr 40qe |
67H-11119-01-00 |
from US $23.49 |
||
|
17
|
17
97013-08020-00 Bolt |
97013-08020-00 |
from US $1.64 |
||
| replacement | |||||
|
17
|
17
97080-08020-00 Bolt(6Td) |
97080-08020-00 |
from US $4.05 |
||
|
18
|
18
92990-08600-00 Washer, Plate |
92990-08600-00 |
from US $1.36 |
||
|
19
|
19
6E9-11111-00-94
Head, Cylinder 1
|
6E9-11111-00-94 |
— | ||
| replacement | |||||
|
19
|
19
6E9-11111-00-1S
Head, Cylinder
|
6E9-11111-00-1S |
— | ||
|
20
|
20
676-11181-A1-00 Gasket, Cylinder Head 1 |
676-11181-A1-00 |
US $78.75 |
||
| replacement | |||||
|
20
|
20
676-11181-A2-00 Gasket, Cylinder Head 1 |
676-11181-A2-00 |
from US $41.74 |
||
|
21
|
21
901-1908M-20-00
Boulon, Avec Rondelle
|
901-1908M-20-00 |
— | ||
| replacement | |||||
|
21
|
21
90119-08M66-00 Bolt, With Washer |
90119-08M66-00 |
from US $5.22 |
||
|
22
|
22
6E9-11191-00-9M
Cover, Cylinder Head 1
|
6E9-11191-00-9M |
— | ||
| replacement | |||||
|
22
|
22
6E9-11191-00-1S
Cover, Cylinder Head 1
|
6E9-11191-00-1S |
— | ||
|
23
|
23
6E9-11193-A0-00 Joint, Couvercle De Culasse 1 |
6E9-11193-A0-00 |
from US $10.64 |
||
|
24
|
24
975-95065-20-00
Bolt, With Washer
|
975-95065-20-00 |
— | ||
| replacements | |||||
|
24
|
24
970-80060-20-00 Bolt |
970-80060-20-00 |
from US $1.56 |
||
|
24
|
24
97E95-06520-00 Bolt, Hexagon W/w De |
97E95-06520-00 |
from US $1.07 |
||
|
25
|
25
90340-14036-00 Plug, Straight Screw |
90340-14036-00 |
from US $4.68 |
||
|
26
|
26
904-30141-15-00 Gasket |
904-30141-15-00 |
from US $1.90 |
||
|
27
|
27
90480-18065-00 Grommet |
90480-18065-00 |
from US $3.54 |
||
|
28
|
28
663-12416-00-00 Valve, Pressure Control |
663-12416-00-00 |
from US $16.15 |
||
|
29
|
29
90501-14M02-00 Spring, Compression |
90501-14M02-00 |
from US $4.11 |
||
|
30
|
30
6F5-12411-02-00 Thermostat |
6F5-12411-02-00 |
US $50.01 |
||
| replacement | |||||
|
30
|
30
6F5-12411-03-00 Thermostat |
6F5-12411-03-00 |
from US $50.01 |
||
|
31
|
31
6E9-12413-00-9M Cover, Thermostat |
6E9-12413-00-9M |
US $31.31 |
||
| replacement | |||||
|
31
|
31
6E9-12413-00-1S Cover, Thermostat |
6E9-12413-00-1S |
from US $26.42 |
||
|
32
|
32
6E9-12414-A0-00 Joint, Couvercle |
6E9-12414-A0-00 |
US $3.83 |
||
| replacement | |||||
|
32
|
32
6E9-12414-A1-00 Gasket, Cover |
6E9-12414-A1-00 |
from US $3.83 |
||
|
33
|
33
970-95060-30-00
Bolt
|
970-95060-30-00 |
— | ||
| replacement | |||||
|
33
|
33
97080-06030-00 Bolt |
97080-06030-00 |
from US $2.83 |
||
|
34
|
34
929-90066-00-00 Washer, Plain (646) |
929-90066-00-00 |
from US $1.07 |
||
|
35
|
35
676-41111-01-9M Inner Cover, Exhaust |
676-41111-01-9M |
US $41.30 |
||
|
36
|
36
676-41112-A0-00 Joint, Plaque D'echappement |
676-41112-A0-00 |
from US $10.64 |
||
|
37
|
37
676-41113-02-9M
Outer Cover, Exhaust
|
676-41113-02-9M |
— | ||
| replacement | |||||
|
37
|
37
999-99999-99-00
Not Available
|
999-99999-99-00 |
— | ||
|
38
|
38
6E9-41114-A0-00
Joint, Couvercle D'echappement
|
6E9-41114-A0-00 |
— | ||
|
39
|
39
652-24461-00-00 Pipe, Joint 4 |
652-24461-00-00 |
from US $3.97 |
||
|
40
|
40
6A0-24312-00-00
Durite 2
|
6A0-24312-00-00 |
— | ||
|
41
|
41
970-95060-25-00
Bolt
|
970-95060-25-00 |
— | ||
| replacement | |||||
|
41
|
41
90101-06M27-00 Bolt |
90101-06M27-00 |
from US $1.35 |
||
|
42
|
42
929-90066-00-00 Washer, Plain (646) |
929-90066-00-00 |
from US $1.07 |
||
|
43
|
43
94702-00041-00 Bougie D,allumageUe 40qwc/40qmh (for volga) |
94702-00041-00 |
US $4.99 |
||
| replacements | |||||
|
43
|
43
B8H-S0000-00-00 elementUe 40qwc/40qmh (for volga) |
B8H-S0000-00-00 |
US $4.99 |
||
|
43
|
43
BR8-HS000-00-00 BR8HS NGK SCREW TOP PLUG 4PK (4-PACK)Ue 40qwc/40qmh (for volga) |
BR8-HS000-00-00 |
US $26.36 |
||
|
43
|
43
94702-00195-00 Br8Hs Ngk Screw TopUr 40qe/40qmh (for france) |
94702-00195-00 |
from US $6.74 |
||
| replacements | |||||
|
43
|
43
BR8-HS000-00-00 BR8HS NGK SCREW TOP PLUG 4PK (4-PACK)Ur 40qe/40qmh (for france) |
BR8-HS000-00-00 |
US $26.36 |
||
|
43
|
43
94701-00195-00 Plug,spark(Ngk Br8Hs)Ur 40qe/40qmh (for france) |
94701-00195-00 |
US $7.42 |
||
|
43
|
43
NGK-BR8HS-00-00 Br8Hs Ngk Screw TopUr 40qe/40qmh (for france) |
NGK-BR8HS-00-00 |
US $23.40 |
||