Generator Diagram Yamaha F225 ETX
- Year
- 2002
- Model
- F225A
- Model code
- 69J
- Year
- 2002
- Stroke (2-stroke or 4-stroke)
- 4 stroke
- Power
- 225
- Sales region
- Japan (999)
- Colour
- Dark Bluish Gray Metallic 2 (DBNM2; 004D)
Difficulties in parts search?
Difficulties in parts search?
| Description | OEM Part # | Price | |||
|---|---|---|---|---|---|
|
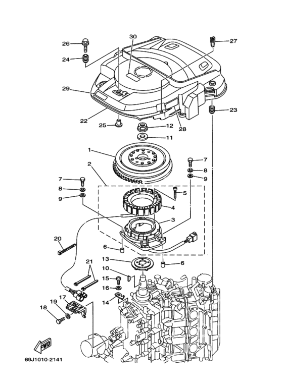
1
|
1
69J-81450-01-00
Rotor Assy
ロータアセンブリ; |
69J-81450-01-00 |
— | ||
|
2
|
2
69J-81460-00-00 Base Assyベースアセンブリ; |
69J-81460-00-00 |
US $1,650 |
||
| replacement | |||||
|
2
|
2
69J-81460-01-00 Base Assyベースアセンブリ; |
69J-81460-01-00 |
from US $1,622.53 |
||
|
3
|
3
69J-85580-00-00 Coil, Pulser.コイル,パルサ; |
69J-85580-00-00 |
from US $667.92 |
||
|
4
|
4
69J-81410-00-00 Stator Assy.ステータアセンブリ; |
69J-81410-00-00 |
US $1,230.24 |
||
| replacement | |||||
|
4
|
4
69J-81410-10-00 Stator Assy.ステータアセンブリ; |
69J-81410-10-00 |
from US $1,230.24 |
||
|
5
|
5
63D-81345-20-00
Screw, With Washer (M6X30)
.スクリユ,ウイズワツシヤ ; M6X30 |
63D-81345-20-00 |
— | ||
| replacement | |||||
|
5
|
5
98517-06030-00 Screw, Pan Head.スクリユ,ウイズワツシヤ ; M6X30 |
98517-06030-00 |
from US $1.36 |
||
|
6
|
6
99530-08012-00 Pin, Dowel |
99530-08012-00 |
from US $1.07 |
||
|
7
|
7
97095-06035-00 Bolt(6R8)ボルト; |
97095-06035-00 |
from US $2.69 |
||
| replacement | |||||
|
7
|
7
97080-06035-00 Bolt(J52)ボルト; |
97080-06035-00 |
from US $1.70 |
||
|
8
|
8
929-95061-00-00 Washer, Springワツシヤ,スプリング; |
929-95061-00-00 |
from US $0.99 |
||
|
9
|
9
929-95066-00-00
Washer, Plate
|
929-95066-00-00 |
— | ||
| replacement | |||||
|
9
|
9
929-90066-00-00 Washer, Plain (646) |
929-90066-00-00 |
from US $1.07 |
||
|
10
|
10
902-80050-15-00
Key, Woodruff
キー,ウツドラフ; |
902-80050-15-00 |
— | ||
| replacement | |||||
|
10
|
10
90280-05049-00 Key, Woodruffキー,ウツドラフ; |
90280-05049-00 |
from US $4.72 |
||
|
11
|
11
90201-24014-00 Washer, Plateワツシヤ,プレート; |
90201-24014-00 |
from US $12.46 |
||
|
12
|
12
90179-24002-00 Nut |
90179-24002-00 |
from US $40.62 |
||
|
13
|
13
69J-81673-00-00 Rotorロータ; |
69J-81673-00-00 |
from US $58.44 |
||
|
14
|
14
67F-81332-00-00
Plate, Timing
プレート,タイミング; |
67F-81332-00-00 |
— | ||
| replacement | |||||
|
14
|
14
6D8-81332-00-00 Plate, Timingプレート,タイミング; |
6D8-81332-00-00 |
from US $5.67 |
||
|
15
|
15
97885-06010-00 Screw, Pan Head |
97885-06010-00 |
US $1.98 |
||
| replacements | |||||
|
15
|
15
985-80060-10-00 Screw, Pan Head (92503-06010-00 |
985-80060-10-00 |
from US $1.42 |
||
|
15
|
15
97985-06210-00 Screw Pan Head W/w (6R3) |
97985-06210-00 |
from US $1.36 |
||
|
16
|
16
929-95066-00-00
Washer, Plate
|
929-95066-00-00 |
— | ||
| replacement | |||||
|
16
|
16
929-90066-00-00 Washer, Plain (646) |
929-90066-00-00 |
from US $1.07 |
||
|
17
|
17
69J-8132G-00-00 Plateプレート; |
69J-8132G-00-00 |
US $23.52 |
||
| replacement | |||||
|
17
|
17
69J-8132G-01-00 Plateプレート; |
69J-8132G-01-00 |
from US $21.76 |
||
|
18
|
18
97095-06016-00 Boltボルト; |
97095-06016-00 |
from US $1.28 |
||
| replacement | |||||
|
18
|
18
97D95-06016-00 Bolt, Hexagon Deep Recessボルト; |
97D95-06016-00 |
from US $1.28 |
||
|
19
|
19
929-95066-00-00
Washer, Plate
|
929-95066-00-00 |
— | ||
| replacement | |||||
|
19
|
19
929-90066-00-00 Washer, Plain (646) |
929-90066-00-00 |
from US $1.07 |
||
|
20
|
20
90465-13M18-00 Clamp |
90465-13M18-00 |
from US $1.35 |
||
| replacements | |||||
|
20
|
20
90465-13M39-00 Clamp(6E8) |
90465-13M39-00 |
from US $1.36 |
||
|
20
|
20
90465-13M30-00 Clamp |
90465-13M30-00 |
from US $1.98 |
||
|
21
|
21
90465-14M66-00 Clamp |
90465-14M66-00 |
from US $3.54 |
||
|
22
|
22
69J-81337-00-00 Cover, Flywheelカバー,フライホイール; |
69J-81337-00-00 |
from US $130.84 |
||
|
23
|
23
663-82317-01-00 Damper, Ignition Coilダンパ,イグニツシヨンコイル; |
663-82317-01-00 |
US $4.96 |
||
| replacement | |||||
|
23
|
23
663-82317-02-00 Damper, Ignition Coilダンパ,イグニツシヨンコイル; |
663-82317-02-00 |
from US $4.72 |
||
|
24
|
24
6A0-82317-00-00 Damper, Ignition Coilダンパ,イグニツシヨンコイル; |
6A0-82317-00-00 |
from US $4.53 |
||
| replacement | |||||
|
24
|
24
6A0-82317-01-00 DAMPER IGNITION COILダンパ,イグニツシヨンコイル; |
6A0-82317-01-00 |
from US $2.02 |
||
|
25
|
25
624-42542-00-00 Collarパイプ; |
624-42542-00-00 |
US $6.23 |
||
| replacement | |||||
|
25
|
25
90387-06119-00 Collarパイプ; |
90387-06119-00 |
from US $2.36 |
||
|
26
|
26
90119-06M59-00 Bolt, With Washer |
90119-06M59-00 |
US $2.83 |
||
| replacement | |||||
|
26
|
26
901-19062-89-00 BOLT WITH WASHER |
901-19062-89-00 |
from US $2.36 |
||
|
27
|
27
67F-2812A-00-00 Puller, Fuse |
67F-2812A-00-00 |
from US $3.12 |
||
|
28
|
28
69J-81919-10-00 Graphic, Regulatorグラフイツク,レギユレータ; |
69J-81919-10-00 |
US $4.99 |
||
|
29
|
29
69J-13437-00-00
Mark, Caution
|
69J-13437-00-00 |
— | ||
|
30
|
30
6A1-83625-01-00 Mark 5 |
6A1-83625-01-00 |
US $4.26 |
||