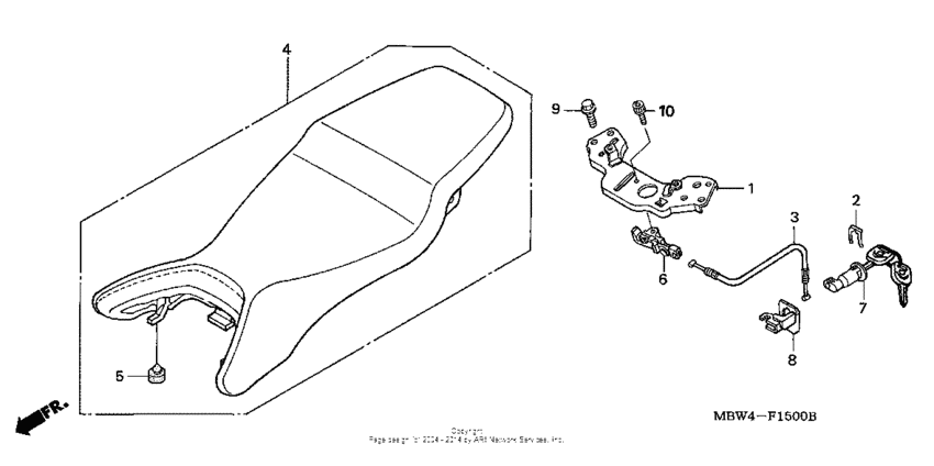
Seat ('99-'00) Diagram Honda CBR600 CBR600F4
- Year
- 2000
- Model code
- CBR600F4 A
- Sales region
- USA
- Frame
- JH2PC350*YM100001 - JH2PC350*YM106777
- Engine Capacity
- 600
Difficulties in parts search?
Parts list
Difficulties in parts search?
| Description | OEM Part # | Price | |||
|---|---|---|---|---|---|
|
1
|
1
50247-MBW-000 Plate, cross |
50247-MBW-000 |
US $58.97 |
||
|
2
|
2
75581-GN8-920 Spring |
75581-GN8-920 |
from US $3.70 |
||
|
3
|
3
77156-MBW-000
Cable, seat lock
|
77156-MBW-000 |
— | ||
|
4
|
4
77200-MBW-670
Seat assy., double
|
77200-MBW-670 |
— | ||
|
5
|
5
77206-GF0-000 Rubber, seat setting |
77206-GF0-000 |
from US $3.18 |
||
|
6
|
6
77220-KY6-010 Hook, seat catch |
77220-KY6-010 |
from US $27.61 |
||
|
7
|
7
77234-MBL-611 Key, seat lock |
77234-MBL-611 |
from US $30.60 |
||
|
8
|
8
77242-MAT-000 Stay |
77242-MAT-000 |
from US $6.53 |
||
|
9
|
9
96300-0801800 Bolt, flange (8x18) |
96300-0801800 |
from US $0.74 |
||
|
10
|
10
96600-060-120-0 BoltSOCKET, 6X12 |
96600-060-120-0 |
from US $0.59 |