Fuel Cock (Dr200Sel3 E33) Diagram Suzuki DR200 DR200SE

Year
2013
Model code
DR200SE
Sales region
USA/ Canada
Engine Capacity
200
Model
DR200SE

Difficulties in parts search?

Parts list
Fuel Cock (Dr200Sel3 E33)

Difficulties in parts search?

Fuel Cock (Dr200Sel3 E33)
Description OEM Part # Price
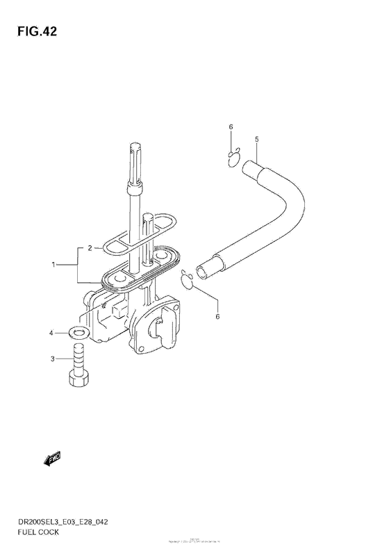
1
1

44300-44AB0-000

COCK ASSY,FUEL

Cock assy, fuel

44300-44AB0-000

US $140.26

2
2
44348-87420-000
GASKET,JOINT

44348-87420-000

replacement
2
2

44348-87421-000

Gasket,joint

44348-87421-000

from US $2.13

3
3

09128-06057-000

BOLT(6X20)

Bolt (6x20)

09128-06057-000

from US $1.12

4
4

09168-06026-000

GASKET(6.4X11.5X0.8)

09168-06026-000

from US $0.91

5
5

44421-44A00-000

HOSE,FUEL

44421-44A00-000

from US $12.48

6
6

09401-09403-000

CLIP

09401-09403-000

from US $1.12

Fuel Cock (Dr200Sel3 E33) Diagram Suzuki DR200 DR200SE USA/ Canada 16391912-852649