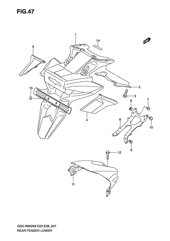
Rear fender lower Diagram Suzuki GSX-R600
- Year
- 2010
- Model code
- GSX-R600L0(E3/E28) L0
- Sales region
- USA/ Canada
- Engine Capacity
- 600
- Model
- GSX-R600
Difficulties in parts search?
Difficulties in parts search?
| Description | OEM Part # | Price | |||
|---|---|---|---|---|---|
|
1
|
1
63113-37H00-000 FENDER,RR RR |
63113-37H00-000 |
from US $93.84 |
||
|
2
|
2
63122-37H00-000 PLATE,RR FENDER RR |
63122-37H00-000 |
from US $21.34 |
||
|
3
|
3
09103-06282-000 BOLT(6X25)Bolt, shift cam (6x25) |
09103-06282-000 |
from US $3.42 |
||
|
4
|
4
63170-37H00-YMC COVER,RR FENDER RR,RCover, rear rh (silver); |
63170-37H00-YMC |
from US $47.10 |
||
|
5
|
5
63180-37H00-YMC COVER,RR FENDER RR,LCover, rear lh (silver); |
63180-37H00-YMC |
from US $47.10 |
||
|
6
|
6
63121-37H00-000 BRACKET,RR FENDER RR |
63121-37H00-000 |
from US $47.47 |
||
|
7
|
7
09139-06108-000 SCREW(6X12)Screw, rh (6x12) Bolt, bracket; |
09139-06108-000 |
US $17.30 |
||
|
8
|
8
09152-06024-000 NUT |
09152-06024-000 |
from US $5.39 |
||
|
9
|
9
03541-0616B-000 SCREWScrew, rear; |
03541-0616B-000 |
from US $3.77 |
||
|
10
|
10
07120-0510B-000 BOLTBolt, speed sensor Bolt, rear cover; |
07120-0510B-000 |
from US $4.17 |
||
|
11
|
11
63114-01H02-000 FENDER,RR LWR |
63114-01H02-000 |
from US $34.78 |
||
|
12
|
12
09103-06302-000 BOLT(6X14) |
09103-06302-000 |
from US $1.12 |
||
|
13
|
13
08322-0106A-000 WASHERWasher, license plate; |
08322-0106A-000 |
from US $0.76 |
||
|
14
|
14
94423-03H00-000 CUSHION,PANEL NO.1Cushion, cover |
94423-03H00-000 |
from US $2.58 |