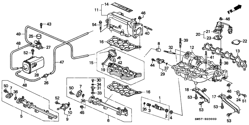
Intake manifold Diagram Honda ACCORD
- Year
- 1993
- Model code
- ACCORD WAGON
- Sales region
- General
- Engine
- F22A
- transmission
- 4AT
- Number of doors
- 5
- grade
- 2.2I
- abs
- +
- area code
- KG
- left-hand drive
- +
Difficulties in parts search?
Difficulties in parts search?
| Description | OEM Part # | Price | |||
|---|---|---|---|---|---|
|
1
|
1
06164-P0A-000 INJECTOR, FUELINJECTOR 3000488 - |
06164-P0A-000 |
US $199.92 |
||
|
1
|
1
06164-PT3-A00 Packing setINJECTOR 00000000 - 3000487 |
06164-PT3-A00 |
US $166.40 |
||
|
2
|
2
16472-PH7-003 Seal ringINJECTOR (OTSUKA) |
16472-PH7-003 |
from US $4.84 |
||
| replacement | |||||
|
2
|
2
16472-P0H-A01 Seal ringINJECTOR (NOK) |
16472-P0H-A01 |
US $25.28 |
||
|
3
|
3
16473-PD6-000 Cushion ringINJECTOR (OTSUKA) |
16473-PD6-000 |
from US $5.33 |
||
| replacement | |||||
|
3
|
3
16473-P10-A01 Cushion ringINJECTOR (NOK) |
16473-P10-A01 |
US $10.10 |
||
|
4
|
4
16474-PT2-000 InsulatorINJECTOR |
16474-PT2-000 |
from US $3.46 |
||
|
6
|
6
16610-PT3-A00
Pipe comp
|
16610-PT3-A00 |
— | ||
|
7
|
7
16623-PT2-000
Cover
|
16623-PT2-000 |
— | ||
|
8
|
8
16638-PT2-000 InsulatorFUEL PIPE |
16638-PT2-000 |
US $3.71 |
||
|
9
|
9
16740-PT2-000
Regulator assy
|
16740-PT2-000 |
— | ||
|
10
|
10
16741-PG7-005 O-ringPRESSURE REGULATOR |
16741-PG7-005 |
from US $2.22 |
||
|
11
|
11
17010-PT2-010
Manifold comp. b
|
17010-PT2-010 |
— | ||
|
12
|
12
17100-PT2-000
Manifold comp. a
|
17100-PT2-000 |
— | ||
|
13
|
13
17105-PT2-004
Packing
|
17105-PT2-004 |
— | ||
|
13
|
13
17105-PT2-003
Packing
|
17105-PT2-003 |
— | ||
|
14
|
14
17113-PH3-300 EmblemINTAKE MANIFOLD (PGM-FI) |
17113-PH3-300 |
US $8.73 |
||
|
15
|
15
17120-PT2-000
Body assy
|
17120-PT2-000 |
— | ||
|
16
|
16
17121-PT2-003 PackingBYPASS VALVE (ISHINO GASKET) |
17121-PT2-003 |
US $9.80 |
||
|
16
|
16
17121-PT2-004 PackingBYPASS VALVE (NIPPON LEAKLESS) |
17121-PT2-004 |
US $9.80 |
||
|
18
|
18
17125-PT3-J00
Stay comp
|
17125-PT3-J00 |
— | ||
|
19
|
19
17129-PT2-000
Diaphragm assy.
|
17129-PT2-000 |
— | ||
|
20
|
20
18011-PT3-A00
Valve set
|
18011-PT3-A00 |
— | ||
|
23
|
23
18715-PB2-000 GASKET, EGR VALVE (ISHINO GASKET) |
18715-PB2-000 |
from US $6.51 |
||
|
24
|
24
32752-PT2-000
Stay d
|
32752-PT2-000 |
— | ||
|
25
|
25
36138-PM1-G01
Filter assy
|
36138-PM1-G01 |
— | ||
|
26
|
26
36145-PM4-004 ValveCHECK |
36145-PM4-004 |
from US $18.50 |
||
|
27
|
27
36163-PT2-004
Valve assy.
|
36163-PT2-004 |
— | ||
|
28
|
28
36361-PT2-014
Tank comp.
|
36361-PT2-014 |
— | ||
|
29
|
29
37880-PK2-005
Sensor assy
|
37880-PK2-005 |
— | ||
| replacement | |||||
|
29
|
29
37880-P05-A00 Sensor assyAIR TEMP |
37880-P05-A00 |
from US $27.74 |
||
|
30
|
30
90009-PE2-010 BoltSEALING, 6MM |
90009-PE2-010 |
US $4.03 |
||
| replacement | |||||
|
30
|
30
90009-RMX-010 Bolt,sealing 6mm |
90009-RMX-010 |
from US $2.73 |
||
|
31
|
31
90009-PT2-010
Bolt
|
90009-PT2-010 |
— | ||
|
32
|
32
90027-PT2-000
Bolt
|
90027-PT2-000 |
— | ||
|
33
|
33
90428-PD6-003 WasherSEALING, 12MM |
90428-PD6-003 |
from US $2.38 |
||
|
34
|
34
90430-PD6-003 WasherSEALING, 6MM |
90430-PD6-003 |
from US $1.48 |
||
|
35
|
35
91301-PM7-003 O-ring7.3X2.2 (ARAI) 3000488 - |
91301-PM7-003 |
US $4.39 |
||
| replacements | |||||
|
35
|
35
91301-P2F-A01 O-ring7.3X2.2 (NOK) 3000488 - |
91301-P2F-A01 |
US $5.39 |
||
|
35
|
35
16074-ZY3-000 O-ring3000488 - |
16074-ZY3-000 |
from US $4.14 |
||
|
35
|
35
91301-PD6-003 O-ring7.3X2.2 (ARAI) 00000000 - 3000487 |
91301-PD6-003 |
US $3.38 |
||
| replacement | |||||
|
35
|
35
91301-P2F-A01 O-ring7.3X2.2 (NOK) 00000000 - 3000487 |
91301-P2F-A01 |
US $5.39 |
||
|
36
|
36
91301-PR3-003
O-ring
|
91301-PR3-003 |
— | ||
|
37
|
37
91303-PK2-005 O-ring (7.5X1.5)7.5X1.5 |
91303-PK2-005 |
from US $1.63 |
||
|
38
|
38
92900-08022-0B BoltSTUD, 8X22 |
92900-08022-0B |
from US $0.74 |
||
|
39
|
39
92900-08070-0B BoltSTUD, 8X70 |
92900-08070-0B |
US $1.33 |
||
|
40
|
40
92900-08035-1B BoltSTUD, 8X35 |
92900-08035-1B |
US $0.81 |
||
|
41
|
41
92900-08070-0B BoltSTUD, 8X70 |
92900-08070-0B |
US $1.33 |
||
|
42
|
42
93500-050-121-H ScrewPAN, 5X12 |
93500-050-121-H |
from US $0.37 |
||
| replacement | |||||
|
42
|
42
93500-050-120-H ScrewPAN, 5X12 |
93500-050-120-H |
from US $0.37 |
||
|
43
|
43
93892-050-160-7 Screw-washer5X16 |
93892-050-160-7 |
from US $0.44 |
||
|
44
|
44
93893-050-160-8 Screw-washer5X16 |
93893-050-160-8 |
from US $0.55 |
||
|
45
|
45
94050-06080 NutFLANGE, 6MM |
94050-06080 |
from US $0.52 |
||
|
46
|
46
94050-08080 NUT, FLANGE, 8MM |
94050-08080 |
from US $0.52 |
||
|
47
|
47
95005-350-701-C Tube3.5X70 (95005-35001-10M) |
95005-350-701-C |
US $1.18 |
||
|
48
|
48
95005-351-801-C
Tube
|
95005-351-801-C |
— | ||
|
49
|
49
95005-353-301-D Tube3.5X330 (95005-35001-10M) |
95005-353-301-D |
US $3.85 |
||
|
50
|
50
95700-060-160-8 BoltFLANGE, 6X16 |
95700-060-160-8 |
US $1.70 |
||
| replacement | |||||
|
50
|
50
95701-060-160-8 BoltFLANGE, 6X16 |
95701-060-160-8 |
from US $0.38 |
||
|
51
|
51
95701-060-120-8 BoltFLANGE, 6X12 |
95701-060-120-8 |
from US $0.52 |
||
|
52
|
52
95701-060-160-8 BoltFLANGE, 6X16 |
95701-060-160-8 |
from US $0.38 |
||
|
53
|
53
95701-080-180-8 Bolt, FLANGE, 8X18 |
95701-080-180-8 |
from US $0.59 |
||
|
54
|
54
95701-080-650-8 BoltFLANGE, 8X65 |
95701-080-650-8 |
from US $0.89 |
||