Abs modulator (2) Diagram Honda ACCORD
- Year
- 1993
- Model code
- ACCORD
- Sales region
- General
- Engine
- F20A
- transmission
- 5MT
- Number of doors
- 4
- grade
- LX
- abs
- +
- area code
- KB
- left-hand drive
- +
- made in usa
- +
Difficulties in parts search?
Parts list
Difficulties in parts search?
| Description | OEM Part # | Price | |||
|---|---|---|---|---|---|
|
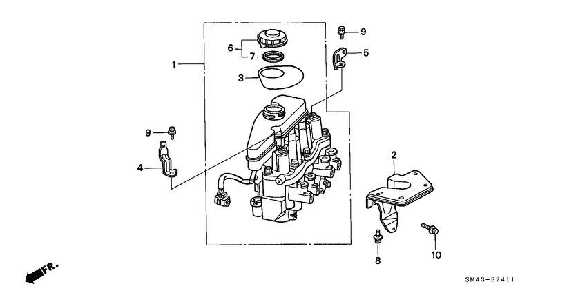
1
|
1
57110-SM4-A52
Modulator assy
|
57110-SM4-A52 |
— | ||
|
2
|
2
57115-SM4-G53
Bracket
|
57115-SM4-G53 |
— | ||
|
3
|
3
57119-SP0-013
Mark
|
57119-SP0-013 |
— | ||
|
4
|
4
57174-SM4-A00
Bracket
|
57174-SM4-A00 |
— | ||
|
5
|
5
57175-SM4-G51
Bracket
|
57175-SM4-G51 |
— | ||
|
6
|
6
57196-SP0-003
Cap comp.
|
57196-SP0-003 |
— | ||
|
7
|
7
57198-SP0-003 SealRESERVE TANK |
57198-SP0-003 |
US $5.18 |
||
|
8
|
8
90105-SG0-003
Bolt-washer
|
90105-SG0-003 |
— | ||
|
9
|
9
93402-060-120-8 Bolt-washer6X12 |
93402-060-120-8 |
from US $0.52 |
||
|
10
|
10
95701-080-160-8 BoltFLANGE, 8X16 |
95701-080-160-8 |
from US $0.59 |