Timing belt Diagram Honda ACCORD
- Year
- 1996
- Model code
- ACCORD
- Sales region
- General
- Engine
- 20T2N15N
- transmission
- 5MT
- Number of doors
- 4
- grade
- 2.0ITD
- abs
- +
- area code
- KG
- left-hand drive
- +
- color bumper
- +
- srs driver & passenger
- +
Difficulties in parts search?
Parts list
Difficulties in parts search?
| Description | OEM Part # | Price | |||
|---|---|---|---|---|---|
|
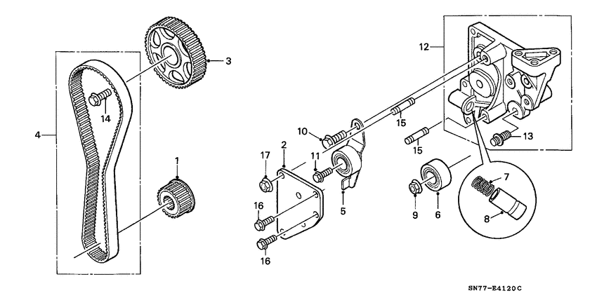
1
|
1
13621-P5T-G00
Pulley
|
13621-P5T-G00 |
— | ||
|
2
|
2
13622-P5T-G00
Plate
|
13622-P5T-G00 |
— | ||
|
3
|
3
14210-P5T-G00
Pulley
|
14210-P5T-G00 |
— | ||
|
4
|
4
14400-P5T-G00
Belt
|
14400-P5T-G00 |
— | ||
|
5
|
5
14510-P5T-G00
Adjuster comp
|
14510-P5T-G00 |
— | ||
|
6
|
6
14520-P5T-G00
Adjuster comp
|
14520-P5T-G00 |
— | ||
|
7
|
7
14525-P5T-G00
Spring
|
14525-P5T-G00 |
— | ||
|
8
|
8
14526-P5T-G00
Sleeve
|
14526-P5T-G00 |
— | ||
|
9
|
9
90202-P5T-G00
Nut
|
90202-P5T-G00 |
— | ||
|
10
|
10
99FS1-10301
Bolt
|
99FS1-10301 |
— | ||
|
11
|
11
99SS1-10401
Screw
|
99SS1-10401 |
— | ||
|
12
|
12
11910-P5T-G00
Bracket
|
11910-P5T-G00 |
— | ||
|
13
|
13
90018-P5T-G00
Bolt
|
90018-P5T-G00 |
— | ||
|
14
|
14
99FS1-12401
Bolt
|
99FS1-12401 |
— | ||
|
15
|
15
90006-P5T-G00
Bolt
|
90006-P5T-G00 |
— | ||
|
16
|
16
99FS1-10161
Bolt-washer
|
99FS1-10161 |
— | ||
|
17
|
17
90201-P5T-G00
Nut
|
90201-P5T-G00 |
— |