Hood (LH) Diagram Honda ACCORD
- Year
- 2002
- Model code
- ACCORD COUPE
- Sales region
- General
- Engine
- J30A
- transmission
- 4AT
- Number of doors
- 2
- grade
- 3.0IV6
- area code
- KG
- left-hand drive
- +
- leather seat
- +
Difficulties in parts search?
Difficulties in parts search?
| Description | OEM Part # | Price | |||
|---|---|---|---|---|---|
|
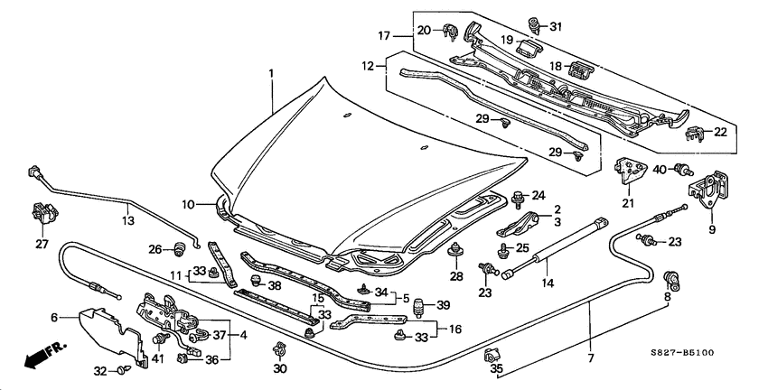
1
|
1
60100-S80-A00ZZ
Hood comp.
|
60100-S80-A00ZZ |
— | ||
|
2
|
2
60120-SS0-000ZZ Hinge compR. HOOD |
60120-SS0-000ZZ |
US $29.44 |
||
|
3
|
3
60170-SS0-000ZZ Hinge compL. HOOD |
60170-SS0-000ZZ |
US $29.44 |
||
|
4
|
4
74120-S84-A21 Lock assyHOOD |
74120-S84-A21 |
US $81.92 |
||
|
5
|
5
74121-S84-A00
Rubber
|
74121-S84-A00 |
— | ||
|
6
|
6
74125-S84-A00
Cover
|
74125-S84-A00 |
— | ||
|
7
|
7
74130-S84-A01
Wire assy.
|
74130-S84-A01 |
— | ||
|
8
|
8
74134-SH0-A01 GrommetHOOD WIRE |
74134-SH0-A01 |
US $3.01 |
||
|
9
|
9
74135-S84-A01ZD Lever assy.HOOD WIRE *NH264L* |
74135-S84-A01ZD |
US $13.72 |
||
|
9
|
9
74135-S84-A01ZF Lever assy.HOOD WIRE *YR169L* |
74135-S84-A01ZF |
US $13.72 |
||
|
10
|
10
74141-S87-A00
Insulator
|
74141-S87-A00 |
— | ||
|
11
|
11
74142-S82-A00
Rubber
|
74142-S82-A00 |
— | ||
|
12
|
12
74143-S84-A00 RubberRR. HOOD SEAL |
74143-S84-A00 |
US $15.87 |
||
|
14
|
14
74145-S87-A01
Stay assy
|
74145-S87-A01 |
— | ||
|
15
|
15
74148-S82-C00
Rubber
|
74148-S82-C00 |
— | ||
|
16
|
16
74152-S82-A00
Rubber
|
74152-S82-A00 |
— | ||
|
17
|
17
74200-S82-A00
Cowl top assy.
|
74200-S82-A00 |
— | ||
|
18
|
18
74202-S84-A00
Lid
|
74202-S84-A00 |
— | ||
|
19
|
19
74207-S84-A00
Lid
|
74207-S84-A00 |
— | ||
|
20
|
20
74214-S84-A00
Cover
|
74214-S84-A00 |
— | ||
|
21
|
21
74231-S84-A00
Valve
|
74231-S84-A00 |
— | ||
|
22
|
22
74264-S84-A00
Cover
|
74264-S84-A00 |
— | ||
|
23
|
23
85269-SH3-003
Stud
|
85269-SH3-003 |
— | ||
|
24
|
24
90106-SE1-000 Bolt-washer6X15 |
90106-SE1-000 |
US $1.89 |
||
|
25
|
25
90107-S84-A00 BoltFLANGE, 6X18 |
90107-S84-A00 |
US $1.82 |
||
|
28
|
28
90700-SJ4-000 ClipENGINE HOOD INSULATOR |
90700-SJ4-000 |
from US $1.78 |
||
|
29
|
29
91502-S84-A11 ClipSEAL RUBBER (BLACK) |
91502-S84-A11 |
US $1.33 |
||
|
30
|
30
91504-SL0-003 ClipHOOD OPEN WIRE |
91504-SL0-003 |
from US $1.26 |
||
|
31
|
31
91508-S50-003 ClipCOWL TOP |
91508-S50-003 |
US $2.80 |
||
|
32
|
32
91515-SM4-003 ClipANCHOR |
91515-SM4-003 |
US $1.40 |
||
|
33
|
33
91518-SM4-003 ClipTRUNK MOLDING |
91518-SM4-003 |
from US $1.76 |
||
|
34
|
34
91530-SP1-003 Clip ADOOR WEATHERSTRIP |
91530-SP1-003 |
US $1.72 |
||
|
35
|
35
91558-SE3-003 ClipHOOD WIRE |
91558-SE3-003 |
US $4 |
||
|
36
|
36
91565-SD5-003 ClipCOUPLER(NATURAL) |
91565-SD5-003 |
US $1.61 |
||
|
37
|
37
91567-SE0-003 BandWIRE HARNESS(WHITE) (93.5MM) |
91567-SE0-003 |
from US $3.08 |
||
|
38
|
38
91602-SZ5-000 CushionHOOD (11.6MM) |
91602-SZ5-000 |
US $1.89 |
||
|
39
|
39
91603-SZ5-000 CushionHOOD (25MM) |
91603-SZ5-000 |
from US $4.20 |
||
|
40
|
40
93403-060-160-8 Bolt-washer6X16 |
93403-060-160-8 |
from US $0.59 |
||
|
41
|
41
93405-060-160-4 Bolt-washer6X16 |
93405-060-160-4 |
from US $0.59 |