Trailer hitch Diagram Honda ACCORD
- Year
- 2000
- Model code
- ACCORD COUPE
- Sales region
- General
- Engine
- J30A
- transmission
- 4AT
- Number of doors
- 2
- grade
- 3.0IV6
- area code
- KE
- right-hand drive
- +
- leather seat
- +
Difficulties in parts search?
Parts list
Difficulties in parts search?
| Description | OEM Part # | Price | |||
|---|---|---|---|---|---|
|
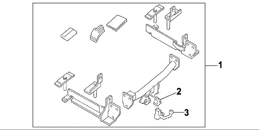
1
|
1
08L92-S82-600
Trailer hitch
|
08L92-S82-600 |
— | ||
|
2
|
2
08L92-SN7-60025
Housing cover
|
08L92-SN7-60025 |
— | ||
|
3
|
3
08L92-S82-60002
New Genuine Part
|
08L92-S82-60002 |
— | ||
|
4
|
4
08L92-AK6-KNB
Knob ak6
|
08L92-AK6-KNB |
— |