Fuel injector (L4) Diagram Honda ACCORD
- Year
- 2007
- Model code
- ACCORD
- Sales region
- General
- Engine
- K24A
- transmission
- 5AT
- Number of doors
- 4
- grade
- EX-L
- area code
- KD
- left-hand drive
- +
- sunroof
- +
- leather seat
- +
Difficulties in parts search?
Difficulties in parts search?
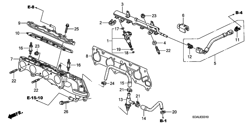
| Description | OEM Part # | Price | |||
|---|---|---|---|---|---|
|
1
|
1
16450-RAA-A01 Injector assyAIR ASSIST FUEL |
16450-RAA-A01 |
US $189.99 |
||
|
2
|
2
16451-PLC-000 ClipINJECTOR |
16451-PLC-000 |
from US $3.64 |
||
|
3
|
3
16620-RAA-A01 Pipe compFUEL |
16620-RAA-A01 |
US $82.56 |
||
|
4
|
4
16638-PNA-000 InsulatorFUEL PIPE |
16638-PNA-000 |
US $5.70 |
||
|
5
|
5
16721-RAA-A01 Hose comp. aFUEL FEED |
16721-RAA-A01 |
US $33.54 |
||
|
6
|
6
16726-PWA-004 Cover bFUEL CONNECTOR (BLACK) |
16726-PWA-004 |
US $2.22 |
||
|
7
|
7
17050-RTB-000 Base comp.INJECTOR |
17050-RTB-000 |
US $217.60 |
||
|
8
|
8
17105-RAA-A01 GasketINJECTOR BASE |
17105-RAA-A01 |
from US $24.77 |
||
|
9
|
9
17145-RAA-A00 Chamber compEGR |
17145-RAA-A00 |
US $50.18 |
||
|
10
|
10
17146-RAA-A01 GasketEGR CHAMBER |
17146-RAA-A01 |
US $19.86 |
||
|
11
|
11
17711-S0X-A31 RetainerGREEN)(TOKAI |
17711-S0X-A31 |
from US $3.40 |
||
|
12
|
12
17711-S0X-931 RetainerBLUE GREEN) (TOKAI |
17711-S0X-931 |
from US $3.40 |
||
|
13
|
13
36281-RTA-003 Valve comp.AIR ASSIST |
36281-RTA-003 |
US $176.53 |
||
|
14
|
14
36282-RAA-A00
Tube
|
36282-RAA-A00 |
— | ||
|
15
|
15
36283-RAA-A00 TubeAIR ASSIST OUTLET |
36283-RAA-A00 |
US $10.69 |
||
|
16
|
16
90015-RAA-A00 Bolt aENGINE COVER |
90015-RAA-A00 |
US $6.19 |
||
|
17
|
17
91301-PLC-000 O-ring7.47X3.6 |
91301-PLC-000 |
from US $1.80 |
||
|
18
|
18
91302-PCA-000 O-ring6.95X1.7 |
91302-PCA-000 |
from US $2.86 |
||
|
19
|
19
91302-PNA-003 O-ring7.45X3.61(NOK) |
91302-PNA-003 |
from US $1.39 |
||
|
20
|
20
91401-RTA-003 ClampTUBE (D13.0) |
91401-RTA-003 |
US $2.31 |
||
|
21
|
21
91412-SDC-L01 ClampFUEL TUBE(D15.5) |
91412-SDC-L01 |
US $1.19 |
||
|
22
|
22
92900-08022-0B BoltSTUD, 8X22 |
92900-08022-0B |
from US $0.74 |
||
|
23
|
23
94050-08080 NUT, FLANGE, 8MM |
94050-08080 |
from US $0.52 |
||
|
24
|
24
95002-413-000-4 ClampTUBE(D13) |
95002-413-000-4 |
from US $1.04 |
||
|
25
|
25
95701-060-250-8 BoltFLANGE, 6X25 |
95701-060-250-8 |
from US $0.59 |
||
|
26
|
26
95701-080-280-8 BoltFLANGE, 8X28 |
95701-080-280-8 |
from US $0.74 |