Rear windshield Diagram Honda ACCORD
- Year
- 2007
- Model code
- ACCORD
- Sales region
- General
- Engine
- K24A
- transmission
- 5MT
- Number of doors
- 4
- grade
- 2.4 VT
- area code
- KY
- sunroof
- +
Difficulties in parts search?
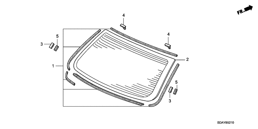
Parts list
Difficulties in parts search?
| Description | OEM Part # | Price | |||
|---|---|---|---|---|---|
|
1
|
1
04733-SDL-X10
Rubber set
|
04733-SDL-X10 |
— | ||
|
2
|
2
73211-SDC-A21 Glass setRR. WINDSHIELD (GREEN) (ASAHI) |
73211-SDC-A21 |
US $643.84 |
||
|
3
|
3
91563-SV4-003 Fastener aRR. WINDSHIELD |
91563-SV4-003 |
US $3.91 |
||
|
4
|
4
91568-SDA-A01 ClipWINDSHIELD UPPER |
91568-SDA-A01 |
from US $2.97 |
||
|
5
|
5
91568-SV4-003 Fastener bRR. WINDSHIELD |
91568-SV4-003 |
US $3.34 |