Front windshield Diagram Honda ACCORD
- Year
- 2009
- Model code
- ACCORD
- Sales region
- General
- Engine
- J35Z
- transmission
- 5AT
- Number of doors
- 2
- grade
- V6 EXG
- area code
- KY
- left-hand drive
- +
- sunroof
- +
Difficulties in parts search?
Parts list
Difficulties in parts search?
| Description | OEM Part # | Price | |||
|---|---|---|---|---|---|
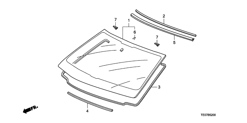
|
1
|
1
73111-TE0-A00
Glass set
|
73111-TE0-A00 |
— | ||
|
2
|
2
73125-TE0-000
Seal
|
73125-TE0-000 |
— | ||
|
3
|
3
73126-TE0-000
Rubber a
|
73126-TE0-000 |
— | ||
|
4
|
4
73127-TA0-000 Rubber bFR. WINDSHIELD DAM |
73127-TA0-000 |
from US $10.57 |
||
|
5
|
5
73150-TE0-A01
Molding
|
73150-TE0-A01 |
— | ||
|
6
|
6
76441-S84-A01
Spring
|
76441-S84-A01 |
— | ||
|
7
|
7
91568-TA0-A00 Clip, FR. Windshield (Upper) |
91568-TA0-A00 |
from US $5.37 |