Plug hole coil/plug (2.4L) Diagram Honda ACCORD

Year
2009
Model code
ACCORD
Sales region
General
Engine
K24Z
transmission
5AT
Number of doors
4
grade
2.4 S
area code
KG
left-hand drive
+

Difficulties in parts search?

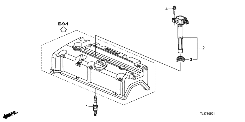
Parts list
Plug hole coil/plug

Difficulties in parts search?

Plug hole coil/plug
Description OEM Part # Price
1
1

12290-RL6-G01

Plug

SPARK (ILZKR7B 11GS)

12290-RL6-G01

from US $32

2
2

30520-RL5-A01

Coil assy

PLUG HOLE

30520-RL5-A01

from US $95.36

3
3

30522-RGA-004

Seal

RUBBER

30522-RGA-004

from US $2.31

4
4

95701-060-250-8

Bolt

FLANGE, 6X25

95701-060-250-8

from US $0.59

Plug hole coil/plug (2.4L) Diagram Honda ACCORD General 7064184-546430