Atf cooler Diagram Honda ACCORD
- Year
- 2009
- Model code
- ACCORD
- Sales region
- General
- Engine
- K24Z
- transmission
- 5AT
- Number of doors
- 4
- grade
- 2.4 EXECUTIVE
- area code
- KG
- left-hand drive
- +
Difficulties in parts search?
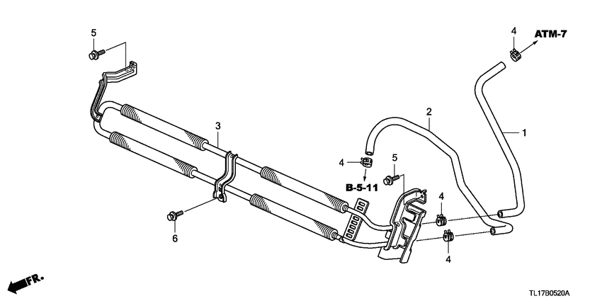
Parts list
Difficulties in parts search?
| Description | OEM Part # | Price | |||
|---|---|---|---|---|---|
|
1
|
1
25211-RL6-004 Hose aATF |
25211-RL6-004 |
US $30.82 |
||
|
2
|
2
25212-RL6-004
Hose b
|
25212-RL6-004 |
— | ||
|
3
|
3
25510-RL6-000 Cooler compATF |
25510-RL6-000 |
US $566.98 |
||
|
4
|
4
90635-PT0-802
Clip, Oil Pipe
|
90635-PT0-802 |
— | ||
| replacement | |||||
|
4
|
4
90635-RV0-003 CLIP, OIL PIPE |
90635-RV0-003 |
from US $3.32 |
||
|
5
|
5
93402-060-120-8 Bolt-washer6X12 |
93402-060-120-8 |
from US $0.52 |
||
|
6
|
6
90121-TL1-G00 Bolt-washer6X12 |
90121-TL1-G00 |
US $1.33 |
||