Instrument panel garnish (DRIVER SIDE; LH) Diagram Honda ACCORD
- Year
- 2009
- Model code
- ACCORD
- Sales region
- General
- Engine
- K24Z
- transmission
- 5AT
- Number of doors
- 4
- grade
- 2.4 TYPE S
- area code
- KG
- left-hand drive
- +
- auto cruise
- +
- navigation
- +
- lane keeping assist system
- +
Difficulties in parts search?
Difficulties in parts search?
| Description | OEM Part # | Price | |||
|---|---|---|---|---|---|
|
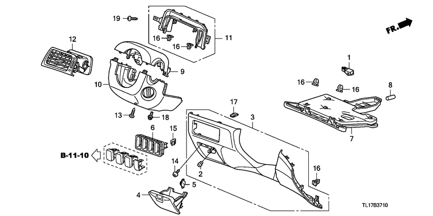
1
|
1
34760-TL0-G01 Light assyAMBIENT(RED) |
34760-TL0-G01 |
US $12.18 |
||
|
2
|
2
77259-SLJ-003 CushionCLIP |
77259-SLJ-003 |
US $1.47 |
||
|
3
|
3
77301-TL0-G01ZB Cover assy.DRIVER LOWER *NH690L* |
77301-TL0-G01ZB |
US $66.72 |
||
|
4
|
4
77302-TL0-G01ZB Pocket assyDRIVER LOWER *NH690L* |
77302-TL0-G01ZB |
US $57.60 |
||
|
5
|
5
77303-TL0-G01 Damper |
77303-TL0-G01 |
US $5.04 |
||
|
6
|
6
77311-TL0-G01ZA PanelSWITCH *NH690L* |
77311-TL0-G01ZA |
US $7.65 |
||
|
7
|
7
77321-TL0-G01 Cover assy.DRIVER UNDER |
77321-TL0-G01 |
US $22.91 |
||
|
8
|
8
77322-TA6-A00 CapDRIVER UNDER COVER STAY |
77322-TA6-A00 |
US $2.80 |
||
|
9
|
9
77350-TL0-G01ZA
Cover
|
77350-TL0-G01ZA |
— | ||
|
10
|
10
77360-TL0-G01ZA
Cover assy.
|
77360-TL0-G01ZA |
— | ||
|
11
|
11
77370-TL0-G01ZA Blind assy.COLUMN *NH690L* |
77370-TL0-G01ZA |
US $12.60 |
||
|
12
|
12
77630-TL0-G01ZB Outlet assyL. SIDE *NH167L* |
77630-TL0-G01ZB |
US $59.01 |
||
|
13
|
13
90101-S2K-000 ScrewTAPPING, 4X16(IT) |
90101-S2K-000 |
US $1.26 |
||
|
14
|
14
90146-SMG-E10
Stopper
|
90146-SMG-E10 |
— | ||
|
15
|
15
90666-SD4-003 ClipFITTING |
90666-SD4-003 |
from US $1.92 |
||
|
16
|
16
90666-TA0-A01 ClipSNAP FITTING (PO) (ORANGE) |
90666-TA0-A01 |
US $1.33 |
||
|
17
|
17
90666-TA0-A21 ClipSNAP FITTING (PO) (ORANGE) |
90666-TA0-A21 |
US $1.33 |
||
|
18
|
18
93891-050-120-8 Screw-washer5X12 |
93891-050-120-8 |
from US $0.44 |
||
|
19
|
19
93913-14420 ScrewTAPPING, 4X16(PO) |
93913-14420 |
from US $0.37 |