Temper wheel kit Diagram Honda ACCORD
- Year
- 2009
- Model code
- ACCORD
- Sales region
- General
- Engine
- K24Z
- transmission
- 5AT
- Number of doors
- 4
- grade
- 2.4 TYPE S
- area code
- KG
- left-hand drive
- +
- auto cruise
- +
- navigation
- +
- lane keeping assist system
- +
Difficulties in parts search?
Difficulties in parts search?
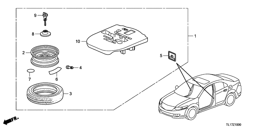
| Description | OEM Part # | Price | |||
|---|---|---|---|---|---|
|
1
|
1
06421-TL3-305
Temper kit
|
06421-TL3-305 |
— | ||
|
2
|
2
42700-TL0-G51 DiskWHEEL (17X4T) (RING TECHS) |
42700-TL0-G51 |
US $167.68 |
||
|
3
|
3
42751-SJA-912
Tire
|
42751-SJA-912 |
— | ||
|
4
|
4
42753-SE0-A02 ValveRIM (SCHRADER) |
42753-SE0-A02 |
US $20.10 |
||
| replacement | |||||
|
4
|
4
42753-SB8-661 ValveRIM (SCHRADER) |
42753-SB8-661 |
US $27.50 |
||
|
5
|
5
42760-TL3-305 PlateTIRE PRESSURE CAUTION |
42760-TL3-305 |
US $1.82 |
||
|
6
|
6
42767-SB2-620 PlateSPARE TIRE CAUTION (T-TYPE)(FRENCH) |
42767-SB2-620 |
US $2.80 |
||
|
6
|
6
42767-SS0-G20 PlateSPARE TIRE CAUTION (T-TYPE) (GERMANY) |
42767-SS0-G20 |
US $2.45 |
||
|
6
|
6
42767-SB0-600 PlateSPARE TIRE CAUTION (T-TYPE) (ENGLISH) |
42767-SB0-600 |
US $2.45 |
||
|
6
|
6
42767-S04-P00 PlateSPARE TIRE CAUTION (T-TYPE)(PORTUGAL) |
42767-S04-P00 |
US $2.24 |
||
|
7
|
7
42767-SH3-E00 PlateSPARE TIRE CAUTION (T-TYPE) |
42767-SH3-E00 |
US $1.68 |
||
|
8
|
8
74651-S2X-003 AdapterSPARE TIRE |
74651-S2X-003 |
US $3.36 |
||
|
9
|
9
74652-SDA-003 BoltSPARE TIRE |
74652-SDA-003 |
from US $3.37 |
||
|
10
|
10
84541-TL2-A00
Box
|
84541-TL2-A00 |
— | ||