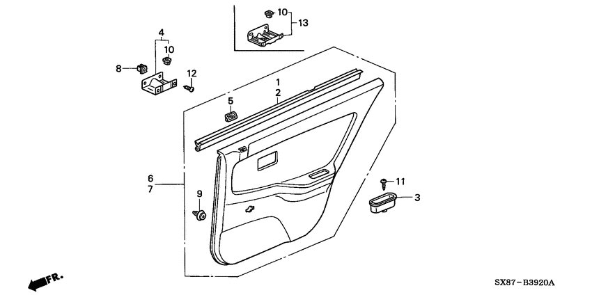
Rear door lining Diagram Honda CITY
- Year
- 2001
- Model code
- CITY
- Sales region
- General
- Engine
- D13B
- transmission
- 4AT
- Number of doors
- 4
- grade
- LI
- area code
- KY
- left-hand drive
- +
Difficulties in parts search?
Parts list
Difficulties in parts search?
| Description | OEM Part # | Price | |||
|---|---|---|---|---|---|
|
1
|
1
72835-SH4-000
Weatherstrip
|
72835-SH4-000 |
— | ||
|
2
|
2
72875-SH4-000
Weatherstrip
|
72875-SH4-000 |
— | ||
|
3
|
3
83501-SR4-000ZH
Pocket
|
83501-SR4-000ZH |
— | ||
|
5
|
5
83508-SV4-000ZC CoverLOCK KNOB *NH264L* |
83508-SV4-000ZC |
US $3.78 |
||
|
6
|
6
83700-SX8-T31ZA
Lining
|
83700-SX8-T31ZA |
— | ||
|
7
|
7
83750-SX8-T31ZA
Lining
|
83750-SX8-T31ZA |
— | ||
|
8
|
8
90662-SB2-003 GrommetSCREW, 5MM |
90662-SB2-003 |
US $1.85 |
||
|
9
|
9
91560-SM4-003
Clip
|
91560-SM4-003 |
— | ||
| replacement | |||||
|
9
|
9
91560-SL4-003 ClipDOOR LINING |
91560-SL4-003 |
US $2.60 |
||
|
10
|
10
91660-SH4-000
Grommet
|
91660-SH4-000 |
— | ||
|
11
|
11
93903-44480 ScrewTAPPING, 4X16 |
93903-44480 |
from US $0.37 |
||
|
12
|
12
93903-45220 ScrewTAPPING, 5X12 |
93903-45220 |
US $0.37 |
||
|
13
|
13
83708-SX8-T20
Bracket
|
83708-SX8-T20 |
— | ||