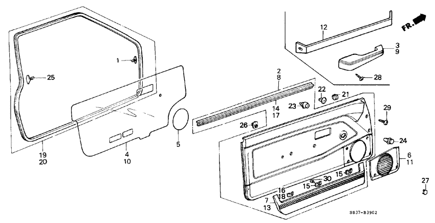
Front door lining (2D) Diagram Honda CIVIC
- Year
- 1987
- Model code
- CIVIC
- Sales region
- General
- Engine
- EW2
- transmission
- 5MT
- Number of doors
- 3
- grade
- GL
- area code
- KB
- intermittent wiper
- +
- 5mt
- +
Difficulties in parts search?
Difficulties in parts search?
| Description | OEM Part # | Price | |||
|---|---|---|---|---|---|
|
1
|
1
73862-672-003
Clip
|
73862-672-003 |
— | ||
|
2
|
2
75820-SB3-723ZA
Lining assy.
0S200001 - |
75820-SB3-723ZA |
— | ||
|
2
|
2
75820-SB3-723ZC
Lining assy.
0S200001 - |
75820-SB3-723ZC |
— | ||
|
2
|
2
75820-SB3-723ZB
Lining assy.
0S200001 - |
75820-SB3-723ZB |
— | ||
|
3
|
3
75823-SB3-961ZF
Armrest
0S200001 - |
75823-SB3-961ZF |
— | ||
|
3
|
3
75823-SB3-961ZG
Armrest
0S200001 - |
75823-SB3-961ZG |
— | ||
|
3
|
3
75823-SB3-961ZJ
Armrest
0S200001 - |
75823-SB3-961ZJ |
— | ||
|
4
|
4
75826-SB3-760
Seal
0S200001 - |
75826-SB3-760 |
— | ||
|
5
|
5
75827-SB2-900
Seal
0S200001 - |
75827-SB2-900 |
— | ||
|
6
|
6
75828-SB3-000ZG
Lid
0S200001 - |
75828-SB3-000ZG |
— | ||
|
6
|
6
75828-SB3-000ZJ
Lid
0S200001 - |
75828-SB3-000ZJ |
— | ||
|
6
|
6
75828-SB3-000ZF
Lid
0S200001 - |
75828-SB3-000ZF |
— | ||
|
7
|
7
75829-SB3-940ZJ
Pocket
0S200001 - |
75829-SB3-940ZJ |
— | ||
|
7
|
7
75829-SB3-940ZF
Pocket
0S200001 - |
75829-SB3-940ZF |
— | ||
|
7
|
7
75829-SB3-940ZG
Pocket
0S200001 - |
75829-SB3-940ZG |
— | ||
|
8
|
8
75830-SB3-723ZA Lining assy.L. DOOR *B49L* 0S200001 - |
75830-SB3-723ZA |
US $313.60 |
||
|
8
|
8
75830-SB3-723ZC Lining assy.L. DOOR *NH89L* 0S200001 - |
75830-SB3-723ZC |
US $313.60 |
||
|
8
|
8
75830-SB3-723ZB Lining assy.L. DOOR *YR89L* 0S200001 - |
75830-SB3-723ZB |
US $313.60 |
||
|
9
|
9
75833-SB3-961ZG
Armrest
0S200001 - |
75833-SB3-961ZG |
— | ||
|
9
|
9
75833-SB3-961ZJ
Armrest
0S200001 - |
75833-SB3-961ZJ |
— | ||
|
9
|
9
75833-SB3-961ZF
Armrest
0S200001 - |
75833-SB3-961ZF |
— | ||
|
10
|
10
75836-SB3-760
Seal
|
75836-SB3-760 |
— | ||
|
11
|
11
75838-SB3-000ZF
Lid
0S200001 - |
75838-SB3-000ZF |
— | ||
|
11
|
11
75838-SB3-000ZG
Lid
0S200001 - |
75838-SB3-000ZG |
— | ||
|
11
|
11
75838-SB3-000ZJ
Lid
0S200001 - |
75838-SB3-000ZJ |
— | ||
|
12
|
12
75839-SB2-670ZC
Cover
0S200001 - |
75839-SB2-670ZC |
— | ||
|
12
|
12
75839-SB2-670ZA CoverL. DOOR ARMREST *B49L* 0S200001 - |
75839-SB2-670ZA |
US $39.17 |
||
|
12
|
12
75839-SB2-670ZD
Cover
0S200001 - |
75839-SB2-670ZD |
— | ||
|
13
|
13
75839-SB3-940ZG
Pocket
0S200001 - |
75839-SB3-940ZG |
— | ||
|
13
|
13
75839-SB3-940ZF
Pocket
0S200001 - |
75839-SB3-940ZF |
— | ||
|
13
|
13
75839-SB3-940ZJ
Pocket
0S200001 - |
75839-SB3-940ZJ |
— | ||
|
14
|
14
75851-SB3-660
Weatherstrip
|
75851-SB3-660 |
— | ||
|
15
|
15
75858-SB3-000
Washer a
0S100001 - |
75858-SB3-000 |
— | ||
|
16
|
16
75859-SB3-000
Washer b
0S100001 - |
75859-SB3-000 |
— | ||
|
17
|
17
75861-SB3-660
Weatherstrip
|
75861-SB3-660 |
— | ||
|
18
|
18
75869-SB3-000
Washer b
0S100001 - |
75869-SB3-000 |
— | ||
|
19
|
19
75880-SB3-013
Weatherstrip
0S100001 - |
75880-SB3-013 |
— | ||
|
20
|
20
75885-SB3-013
Weatherstrip
0S100001 - |
75885-SB3-013 |
— | ||
|
23
|
23
90663-671-003
Clip
|
90663-671-003 |
— | ||
|
24
|
24
90664-SA7-003ZK
Clip
0S200001 - |
90664-SA7-003ZK |
— | ||
|
24
|
24
90664-SA7-003ZG ClipDOOR LINING *NH89L* 0S200001 - |
90664-SA7-003ZG |
US $2.24 |
||
|
24
|
24
90664-SA7-003ZJ
Clip
0S200001 - |
90664-SA7-003ZJ |
— | ||
|
25
|
25
90664-671-003 ClipCANOE |
90664-671-003 |
from US $3.40 |
||
|
26
|
26
90665-SB3-003 GrommetSCREW, 6MM |
90665-SB3-003 |
US $1.89 |
||
|
27
|
27
90693-SB3-003ZJ
Cap
0S200001 - |
90693-SB3-003ZJ |
— | ||
|
27
|
27
90693-SB3-003ZF CapLINING *B49L* 0S200001 - |
90693-SB3-003ZF |
US $2.17 |
||
|
27
|
27
90693-SB3-003ZH
Cap
0S200001 - |
90693-SB3-003ZH |
— | ||
|
28
|
28
93901-16410 ScrewTAPPING, 6X25 |
93901-16410 |
US $0.52 |
||
|
29
|
29
93903-14380 ScrewTAPPING, 4X12 |
93903-14380 |
from US $0.41 |
||
|
30
|
30
93903-34480 ScrewTAPPING, 4X16 0S100001 - |
93903-34480 |
from US $0.37 |