Clutch Diagram Honda CIVIC
- Year
- 1987
- Model code
- CIVIC
- Sales region
- General
- Engine
- ZA1
- transmission
- 4MT
- Number of doors
- 4
- grade
- DX
- area code
- KU
- right-hand drive
- +
Difficulties in parts search?
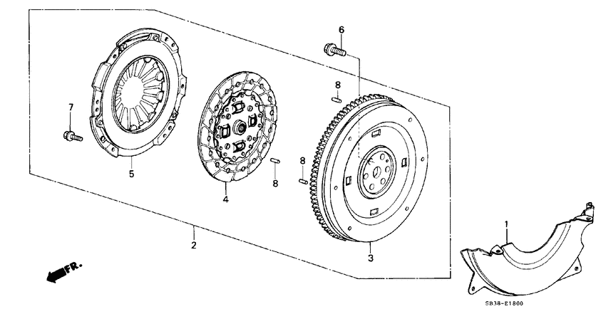
Parts list
Difficulties in parts search?
| Description | OEM Part # | Price | |||
|---|---|---|---|---|---|
|
1
|
1
21350-PE0-020
Cover
1400001 - |
21350-PE0-020 |
— | ||
|
2
|
2
22000-PE0-000
Clutch assy.
|
22000-PE0-000 |
— | ||
|
3
|
3
22100-PE0-000
Flywheel comp.
|
22100-PE0-000 |
— | ||
|
4
|
4
22200-PE0-020
Disk
00000000 - 1601698 |
22200-PE0-020 |
— | ||
|
4
|
4
22200-PJ7-000
Disk comp
1601699 - |
22200-PJ7-000 |
— | ||
|
5
|
5
22300-PE0-030
Disk comp
1202445 - |
22300-PE0-030 |
— | ||
|
6
|
6
90011-PB2-000 BoltHEX., 12MM |
90011-PB2-000 |
US $3.43 |
||
|
7
|
7
90034-689-000 BoltTWELVE POINT, 8MM (TOKAI TRW) |
90034-689-000 |
from US $3.33 |
||
|
8
|
8
96220-60178 Roller6X17.8 |
96220-60178 |
US $0.22 |