Honda CIVIC Car & Auto Parts
- Year
- 1982
- Model code
- CIVIC
- Sales region
- General
- Engine
- EN1
- transmission
- 3AT
- Number of doors
- 4
- grade
- GL
- area code
- KW
- air conditioner (dealer set)
- +
Difficulties in parts search?
-
Air cleaner
-
Air cleaner tubing
-
Exhaust pipe
-
Fuel tank
3D,4D,5D
-
Pipe
-
Fuel strainer
3D,4D,5D
-
Radiator
-
Ignition coil/battery/ regulator
-
Wire harness
3D,4D,5D
-
Side wire harness
-
Headlight/ front combination light
-
Headlight adjuster
-
Taillight
3D,4D,5D
-
Front side turn signal light
-
Interior light
-
Switch
2
-
Switch
1
-
Speedometer
-
Speedometer component
-
Fuse box/horn
-
Front windshield wiper
-
Front windshield washer
-
Auto radio
-
Heater lever
-
Heater blower
-
Heater unit/water hose
-
Tire/wheel disk
-
Rear brake drum
3D,4D,5D
-
Rear brake shoe
-
Driveshaft/ front brake disk
-
Front brake
3D,4D,5D
-
Pedal
1
-
Pedal
2
-
Brake master cylinder
-
Power master
-
Brake hose/brake pipe
3D,4D,5D
-
Parking brake
3D,4D,5D
-
Knuckle
-
Front shock absorber
-
Stabilizer spring/ front lower arm
-
Rear lower arm/radius arm
3D,4D,5D
-
Rear shock absorber
3D,4D,5D
-
Steering wheel
3
-
Steering column
-
Steering gear box
-
Tie rod
-
Center console
-
Selector lever
HMT
-
Selector lever control unit
HMT
-
Insulator/grommet
-
Floor mat
3D,4D,5D
-
Instrument panel
-
Instrument garnish
-
Glove box
-
Fresh air vents
-
Headliner trim
-
Door trim
4D
-
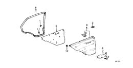
Front door lining
4D,5D,WAGON
-
Rear door lining
4D,5D,WAGON
-
Rear tray/trunk side tray
4D
-
Seatbelt
-
Front seat components
-
Rear seat component
4D
-
Emblem
-
Mirror/sunvisor
-
Tools/jack
-
Front grille
-
Bumper
-
Engine mounts
-
Torque rod/front beam
-
Body structure components
4D
-
Body structure components
3D,4D,5D
-
Body structure components
4D
-
Body structure components
-
Front fenders
-
Hood
-
Front windshield/ rear windshield
-
Front door windows/ regulators
3D,4D
-
Front door locks
4D
-
Front door panels
4D
-
Side protector
4D
-
Rear door window/ regulator
4D,5D,WAGON
-
Rear door lock
4D,5D,WAGON
-
Rear door panel
4D,5D,WAGON
-
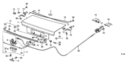
Tailgate
4D
-
Air conditioner
COMPRESSOR
-
Air conditioner
ALTERNATOR
-
Air conditioner
CONDENSER
-
Air conditioner
RECEIVER/HOSES/PIPES
-
Air conditioner
CARBURETOR COMPONENTS
-
Air conditioner
COOLER UNIT
-
Carburetor
1
-
Fuel tubing
1
-
Carburetor insulator/ manifold/fuel pump
1
-
Exhaust manifold
1
-
Engine electrical
2
-
Engine electrical
1
-
Distributor components
TEC
-
Alternator components
45A
-
Starter motor component
DENSO; 2
-
Oil filter/oil gauge
-
Cylinder head cover
-
Cylinder head
-
Camshaft/timing belt
-
Valve/rocker arm
-
Oil pump
-
Cylinder block/oil pan
-
Water pump
1
-
Piston/connecting rod
-
Crankshaft
-
Clutch
-
Torque converter
-
Gasket kit/ transmission assy.
-
Torque converter housing
-
Transmission housing
-
Mainshaft
-
Countershaft
-
Shift lever shaft
-
Oil cooler hose/ oil strainer
-
Valve body
-
Differential gear