Control device stay (1) Diagram Honda CIVIC
- Year
- 1989
- Model code
- CIVIC
- Sales region
- General
- Engine
- D14A
- transmission
- 4AT
- Number of doors
- 4
- grade
- GL
- area code
- KG
- left-hand drive
- +
Difficulties in parts search?
Parts list
Difficulties in parts search?
| Description | OEM Part # | Price | |||
|---|---|---|---|---|---|
|
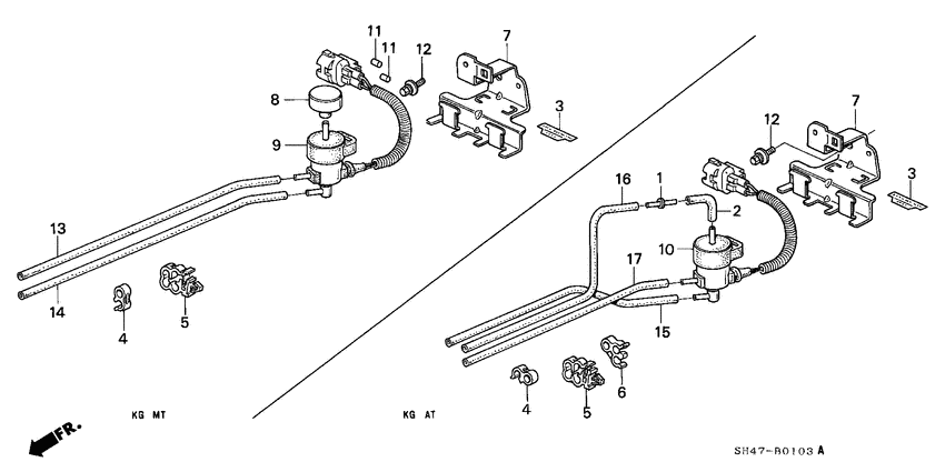
1
|
1
36012-PE0-901 JointTWO WAY |
36012-PE0-901 |
US $4.48 |
||
|
2
|
2
36013-PG7-661 HolderSOLENOID, 3.5MM |
36013-PG7-661 |
US $6.16 |
||
|
3
|
3
36022-PM2-G51
Label
|
36022-PM2-G51 |
— | ||
|
4
|
4
36024-PM1-G01
Clamp
|
36024-PM1-G01 |
— | ||
|
5
|
5
36024-PM2-G01
Clamp
|
36024-PM2-G01 |
— | ||
|
6
|
6
36024-PM2-G51 ClampTUBE, 7.5X3L |
36024-PM2-G51 |
US $6.16 |
||
|
7
|
7
36033-PM1-G01
Stay
|
36033-PM1-G01 |
— | ||
|
10
|
10
36164-PM1-G01
Valve assy.
|
36164-PM1-G01 |
— | ||
|
12
|
12
93405-060-120-8 Bolt-washer6X12 |
93405-060-120-8 |
from US $0.59 |
||
|
15
|
15
95005-353-301-C Tube3.5X330 (95005-35001-10M) |
95005-353-301-C |
US $3.85 |
||
|
16
|
16
95005-353-801-H Tube3.5X380 (95005-35001-10M) |
95005-353-801-H |
US $4.14 |
||
|
17
|
17
95005-354-851-5 Tube3.5X485 (95005-35001-10M) |
95005-354-851-5 |
US $5.03 |