Countershaft Diagram Honda CIVIC
- Year
- 1994
- Model code
- CIVIC COUPE
- Sales region
- General
- Engine
- D15B
- transmission
- 5MT
- Number of doors
- 2
- grade
- LSI
- area code
- KG
- left-hand drive
- +
- sunroof
- +
Difficulties in parts search?
Difficulties in parts search?
| Description | OEM Part # | Price | |||
|---|---|---|---|---|---|
|
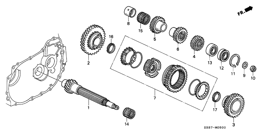
1
|
1
23221-P20-A41 Countershaft |
23221-P20-A41 |
US $261.12 |
||
|
2
|
2
23421-P20-A00 GearCOUNTERSHAFT LOW |
23421-P20-A00 |
US $116.96 |
||
|
3
|
3
23431-P20-A00
Gear
|
23431-P20-A00 |
— | ||
|
4
|
4
23461-P20-A00
Gear
|
23461-P20-A00 |
— | ||
|
5
|
5
23471-P20-A00 GearCOUNTERSHAFT THIRD |
23471-P20-A00 |
US $80.92 |
||
|
6
|
6
23481-P20-A00
Gear
|
23481-P20-A00 |
— | ||
|
7
|
7
23521-P20-315
Sleeve set
|
23521-P20-315 |
— | ||
|
8
|
8
23912-P20-010 CollarDISTANCE, 33X39X32 |
23912-P20-010 |
US $11.34 |
||
|
9
|
9
23926-PB6-010 WasherSPRING, 22MM |
23926-PB6-010 |
from US $5.62 |
||
|
10
|
10
90202-PB6-010 NutFLANGE, 22MM |
90202-PB6-010 |
from US $6.81 |
||
|
11
|
11
90603-PL3-000 RingSNAP, 52MM |
90603-PL3-000 |
US $2.41 |
||
|
12
|
12
91003-PL3-B04 BearingBALL, 25X52X14/15 (TOYO) |
91003-PL3-B04 |
US $10.92 |
||
|
13
|
13
91006-PL3-A03 BearingBALL, 25X52X15 (6205UC/25) (NTN) |
91006-PL3-A03 |
US $10.92 |
||
|
14
|
14
91104-P20-008 BearingNEEDLE, 36X41X25.5 |
91104-P20-008 |
US $10.09 |
||
|
15
|
15
91105-P20-008 BearingNEEDLE, 39X44X27 |
91105-P20-008 |
US $9.18 |
||
|
16
|
16
91211-PL3-T01 DamperFRICTION (LOW) |
91211-PL3-T01 |
US $11.07 |
||
|
17
|
17
91212-P20-008 DamperFRICTION (SECOND) |
91212-P20-008 |
US $13.51 |