Mirror (1) Diagram Honda CIVIC

Year
2000
Model code
CIVIC
Sales region
General
Engine
P6DD
transmission
5MT
Number of doors
4
grade
LXI
power steering
+
area code
PH
left-hand drive
+
power window
+
air conditioner (dealer set)
+

Difficulties in parts search?

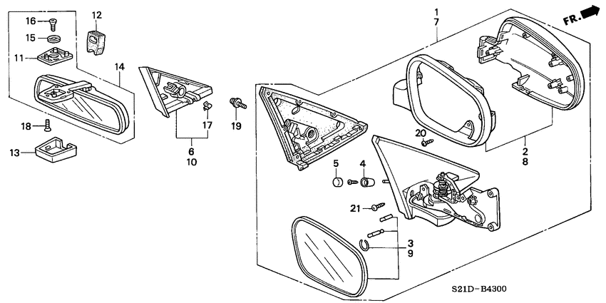
Parts list
Mirror

Difficulties in parts search?

Mirror
Description OEM Part # Price
1
1
76200-S04-G04
Mirror assy

76200-S04-G04

2
2

76201-S04-006

Cover set

R.

76201-S04-006

US $78.08

7
7
76250-S04-G04
Mirror assy

76250-S04-G04

8
8

76251-S04-006

Cover set

L.

76251-S04-006

US $81.92

Mirror (1) Diagram Honda CIVIC General 7076767-551550