Rear door lining Diagram Honda CIVIC
- Year
- 2000
- Model code
- CIVIC
- Sales region
- General
- Engine
- D15Z
- transmission
- 4AT
- Number of doors
- 4
- grade
- VTI
- abs
- +
- power steering
- +
- area code
- KU
- right-hand drive
- +
- sunroof
- +
- srs driver & passenger
- +
Difficulties in parts search?
Difficulties in parts search?
| Description | OEM Part # | Price | |||
|---|---|---|---|---|---|
|
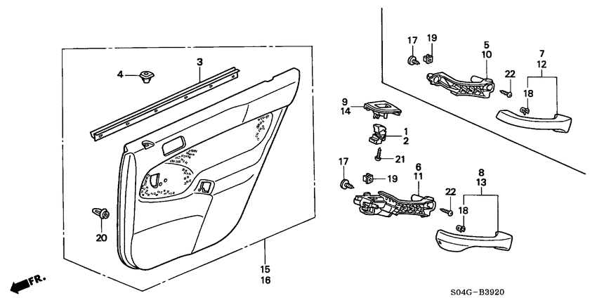
1
|
1
35760-S04-003ZC
Sub switch assy.
|
35760-S04-003ZC |
— | ||
|
2
|
2
35770-S04-003ZD Sub switch assy.L. POWER WINDOW *NH167L* |
35770-S04-003ZD |
US $64.87 |
||
|
3
|
3
72835-S04-003
Weatherstrip
|
72835-S04-003 |
— | ||
|
4
|
4
83508-S04-000ZA CoverLOCK KNOB *NH264L* |
83508-S04-000ZA |
US $2.59 |
||
|
6
|
6
83541-S04-900ZC
Base
|
83541-S04-900ZC |
— | ||
|
8
|
8
83542-S04-900ZC CoverR. DOOR GRIP (P.W.) *NH264L* |
83542-S04-900ZC |
US $19.71 |
||
|
9
|
9
83543-S04-900ZB
Panel
|
83543-S04-900ZB |
— | ||
|
11
|
11
83591-S04-900ZA BaseL. DOOR GRIP (P.W.) *NH264L* |
83591-S04-900ZA |
US $18.30 |
||
|
13
|
13
83592-S04-900ZC CoverL. DOOR GRIP (P.W.) *NH264L* |
83592-S04-900ZC |
US $19.20 |
||
|
14
|
14
83593-S04-900ZB PanelL. POWER WINDOW SUB SWITCH *NH167L* |
83593-S04-900ZB |
US $3.71 |
||
|
15
|
15
83733-S04-Q01ZA
Lining comp.
|
83733-S04-Q01ZA |
— | ||
|
16
|
16
83783-S04-Q01ZA
Lining comp.
|
83783-S04-Q01ZA |
— | ||
|
17
|
17
90132-SS0-000 ScrewTAPPING, 4X10 (PO) |
90132-SS0-000 |
from US $1.12 |
||
|
18
|
18
90146-SR3-000 ClipHEADREST COVER |
90146-SR3-000 |
US $1.40 |
||
|
19
|
19
90662-SB2-003 GrommetSCREW, 5MM |
90662-SB2-003 |
US $1.85 |
||
|
20
|
20
91560-SP0-003 ClipDOOR LINING (GRAY) |
91560-SP0-003 |
US $2.07 |
||
| replacement | |||||
|
20
|
20
91560-S84-A01 CLIP, DOOR LINING (NATURAL) |
91560-S84-A01 |
US $2.44 |
||
|
21
|
21
93901-22420 ScrewTAPPING, 3X16 |
93901-22420 |
from US $0.37 |
||
|
22
|
22
93903-45320 SCREW TAPPING |
93903-45320 |
US $0.37 |
||