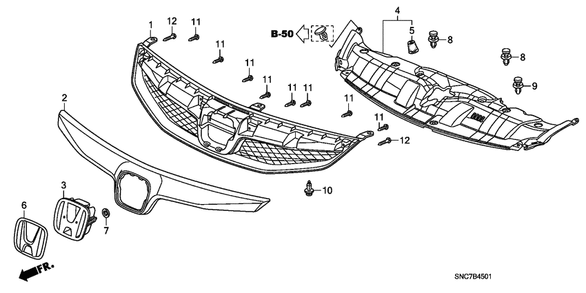
Front grille ('09-) Diagram Honda CIVIC
- Year
- 2009
- Model code
- CIVIC HYBRID
- Sales region
- General
- Engine
- LDA2
- transmission
- CVT
- Number of doors
- 4
- grade
- MX
- area code
- KG
- left-hand drive
- +
Difficulties in parts search?
Difficulties in parts search?
| Description | OEM Part # | Price | |||
|---|---|---|---|---|---|
|
1
|
1
71121-SNB-900ZA BaseFR. GRILLE *NH547* |
71121-SNB-900ZA |
from US $167.68 |
||
|
2
|
2
71122-SNB-900 MoldingFR. GRILLE |
71122-SNB-900 |
from US $135.68 |
||
|
3
|
3
71124-SNB-900 BaseFR. EMBLEM |
71124-SNB-900 |
from US $13.57 |
||
|
4
|
4
71125-SNB-000 CoverFR. GRILLE |
71125-SNB-000 |
US $61.49 |
||
|
5
|
5
74175-SJA-000 CushionHOOD |
74175-SJA-000 |
from US $3.42 |
||
|
6
|
6
75700-TA0-A00 EmblemFR. (H) |
75700-TA0-A00 |
from US $18.14 |
||
|
7
|
7
90301-ST0-003 push nut, 3mm |
90301-ST0-003 |
from US $1.33 |
||
|
8
|
8
91503-SZ3-003 Clip A |
91503-SZ3-003 |
from US $1.94 |
||
|
9
|
9
91506-S9A-003 Clip bBUMPER |
91506-S9A-003 |
from US $2.54 |
||
|
10
|
10
91512-SX0-003 ClipINNER FENDER CLIP |
91512-SX0-003 |
from US $1.98 |
||
|
11
|
11
93903-422J0 ScrewTAPPING, 3X10 |
93903-422J0 |
from US $1.23 |
||
|
12
|
12
93903-44480 ScrewTAPPING, 4X16 |
93903-44480 |
from US $0.37 |