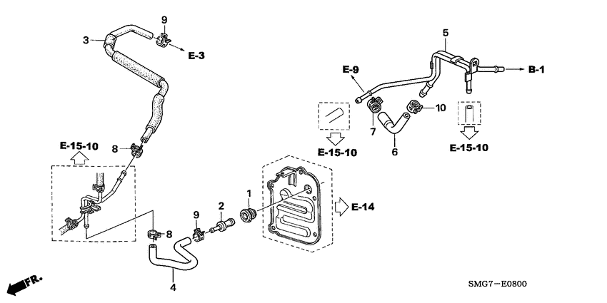
Breather pipe (1.4L) Diagram Honda CIVIC
- Year
- 2006
- Model code
- CIVIC
- Sales region
- General
- Engine
- L13A
- transmission
- 6MT
- Number of doors
- 5
- grade
- 1.4 S
- area code
- KE
- right-hand drive
- +
- vehicle stability assist
- +
Difficulties in parts search?
Parts list
Difficulties in parts search?
| Description | OEM Part # | Price | |||
|---|---|---|---|---|---|
|
1
|
1
11855-P72-000 Grommet, PCV Valve |
11855-P72-000 |
US $2.89 |
||
|
2
|
2
17130-PWA-003 Valve assy. PCV |
17130-PWA-003 |
from US $17 |
||
|
3
|
3
17131-PWA-000
Tube a
|
17131-PWA-000 |
— | ||
|
4
|
4
17133-PWA-900
Tube b
|
17133-PWA-900 |
— | ||
|
5
|
5
17135-RSH-E00 Pipe compBREATHER |
17135-RSH-E00 |
US $26.50 |
||
|
6
|
6
17153-RSH-E00
Tube
|
17153-RSH-E00 |
— | ||
|
7
|
7
91405-PH7-003
Clamp
|
91405-PH7-003 |
— | ||
|
8
|
8
95002-412-000-4 ClampTUBE (D12) |
95002-412-000-4 |
from US $0.74 |
||
|
9
|
9
95002-412-500-4 ClampTUBE (D12.5) |
95002-412-500-4 |
from US $0.74 |
||
|
10
|
10
95002-413-000-4 ClampTUBE(D13) |
95002-413-000-4 |
from US $1.04 |