Exhaust manifold (DIESEL) Diagram Honda CIVIC
- Year
- 2010
- Model code
- CIVIC
- Sales region
- General
- Engine
- N22A
- transmission
- 6MT
- Number of doors
- 5
- grade
- 2.2SPR
- area code
- KG
- left-hand drive
- +
- navigation
- +
- dpf
- +
Difficulties in parts search?
Parts list
Difficulties in parts search?
| Description | OEM Part # | Price | |||
|---|---|---|---|---|---|
|
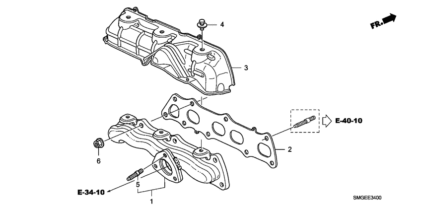
1
|
1
18100-RBD-E11
Manifold assy
|
18100-RBD-E11 |
— | ||
|
2
|
2
18115-RBD-E01 GasketEX. MANIFOLD (ISHINO GASKET) |
18115-RBD-E01 |
US $16.77 |
||
|
3
|
3
18120-RSR-E00
Cover comp.
|
18120-RSR-E00 |
— | ||
|
4
|
4
90015-PH7-000 Bolt-washer8X14 |
90015-PH7-000 |
US $2.17 |
||
| replacement | |||||
|
4
|
4
90015-PT0-J00 Bolt-washer8X14 |
90015-PT0-J00 |
US $1.70 |
||
|
5
|
5
90065-RBD-E00 BoltSTUD, 10X28 |
90065-RBD-E00 |
US $3.67 |
||
|
6
|
6
90212-SA5-003 NutSELF-LOCK, 10MM |
90212-SA5-003 |
from US $2.74 |
||