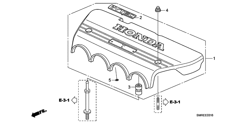
Engine cover (2.0L) Diagram Honda CIVIC
- Year
- 2010
- Model code
- CIVIC
- Sales region
- General
- Engine
- K20Z
- transmission
- 6MT
- Number of doors
- 3
- grade
- 2.0 TYPE-R P
- area code
- KE
- right-hand drive
- +
- side curtain srs
- +
- lsd
- +
Difficulties in parts search?
Parts list
Difficulties in parts search?
| Description | OEM Part # | Price | |||
|---|---|---|---|---|---|
|
1
|
1
17121-RSP-G00 Cover assy. Engine |
17121-RSP-G00 |
US $142.12 |
||
|
2
|
2
17125-RSP-G00 EmblemENGINE COVER |
17125-RSP-G00 |
US $29.77 |
||
|
3
|
3
17212-P8A-A00 RubberINTAKE MANIFOLD COVER MOUNTING |
17212-P8A-A00 |
US $2.44 |
||
|
4
|
4
90201-P8E-A00 NutCAP, 6MM |
90201-P8E-A00 |
US $1.55 |
||
|
5
|
5
90672-SW5-003 Nut |
90672-SW5-003 |
US $1.07 |