Water hose (RH; 2.0L) Diagram Honda CIVIC
- Year
- 2010
- Model code
- CIVIC
- Sales region
- General
- Engine
- K20Z
- transmission
- 6MT
- Number of doors
- 3
- grade
- 2.0 TYPE-R P
- area code
- KE
- right-hand drive
- +
- side curtain srs
- +
- lsd
- +
Difficulties in parts search?
Parts list
Difficulties in parts search?
| Description | OEM Part # | Price | |||
|---|---|---|---|---|---|
|
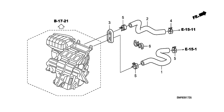
1
|
1
79721-SMT-E00 HoseWATER IN. |
79721-SMT-E00 |
US $78.08 |
||
|
2
|
2
79725-SMT-E00 HoseWATER OUTLET |
79725-SMT-E00 |
US $78.08 |
||
|
3
|
3
79731-SMG-E00 GrommetHEATER PIPE |
79731-SMG-E00 |
US $4.62 |
||
|
4
|
4
90661-SL5-003 Clip, WATER HOSE |
90661-SL5-003 |
US $3.99 |
||
|
5
|
5
91405-PK1-003
Clip, WATER HOSE, 24MM
|
91405-PK1-003 |
— | ||
| replacement | |||||
|
5
|
5
19513-PE0-003 ClampWATER HOSE (21.7MM) (CHUO SPRING) |
19513-PE0-003 |
from US $2.75 |
||
|
6
|
6
91551-SD5-003 ClampHEATER |
91551-SD5-003 |
from US $1.82 |
||