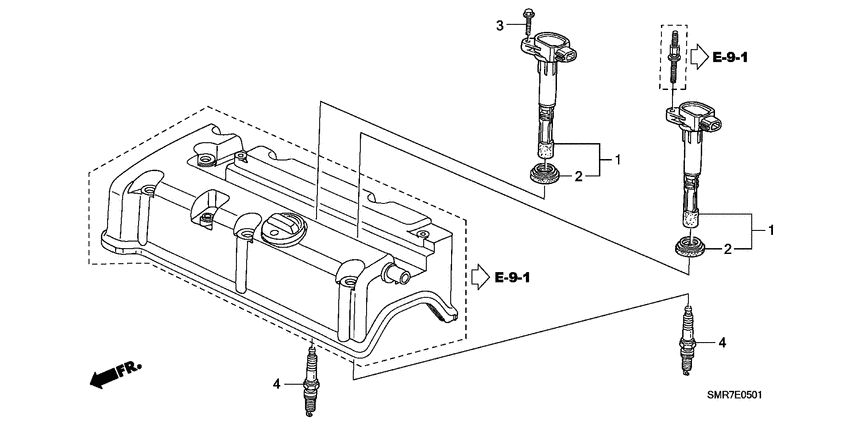
Plug hole coil (2.0L) Diagram Honda CIVIC
- Year
- 2008
- Model code
- CIVIC
- Sales region
- General
- Engine
- K20Z
- transmission
- 6MT
- Number of doors
- 3
- grade
- 2.0 TYPE R
- area code
- KE
- right-hand drive
- +
Difficulties in parts search?
Parts list
Difficulties in parts search?
| Description | OEM Part # | Price | |||
|---|---|---|---|---|---|
|
1
|
1
30520-RRA-007 IGNITION COIL |
30520-RRA-007 |
from US $89.60 |
||
|
2
|
2
30522-PFB-007 SEAL, PLUG HOLE |
30522-PFB-007 |
from US $2.44 |
||
|
3
|
3
95701-060-250-8 BoltFLANGE, 6X25 |
95701-060-250-8 |
from US $0.59 |
||
|
4
|
4
98079-571CV PlugSPARK (SK22PR-M11S) (DENSO) |
98079-571CV |
US $25.70 |
||
|
4
|
4
98079-571BV PlugSPARK (IFR7G-11KS) (NGK) |
98079-571BV |
from US $21.06 |