Radiator (DIESEL) Diagram Honda CIVIC
- Year
- 2010
- Model code
- CIVIC
- Sales region
- General
- Engine
- N22A
- transmission
- 6MT
- Number of doors
- 3
- grade
- 2.2 TYPE-S P
- area code
- KE
- right-hand drive
- +
- side curtain srs
- +
- glass roof
- +
Difficulties in parts search?
Parts list
Difficulties in parts search?
| Description | OEM Part # | Price | |||
|---|---|---|---|---|---|
|
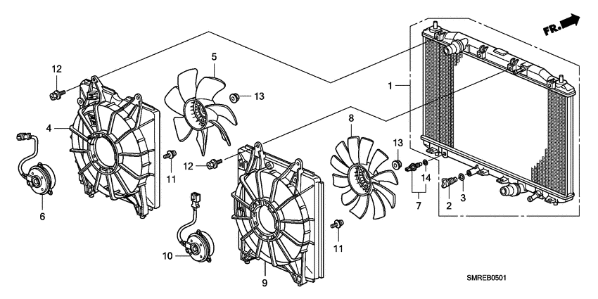
1
|
1
19010-RSR-E01
Radiator comp.
|
19010-RSR-E01 |
— | ||
|
2
|
2
19011-PH1-621 BoltDRAIN (DENSO) |
19011-PH1-621 |
from US $5.91 |
||
|
3
|
3
19012-671-300 PackingDRAIN (DENSO) |
19012-671-300 |
from US $1.85 |
||
|
4
|
4
19015-RSR-E01
Shroud comp.
|
19015-RSR-E01 |
— | ||
|
5
|
5
19020-RSR-E01
Fan comp
|
19020-RSR-E01 |
— | ||
|
6
|
6
19030-RSR-E01
Motor
|
19030-RSR-E01 |
— | ||
|
7
|
7
37870-RZA-007 Sensor assyWATER TEMP(NTCL) |
37870-RZA-007 |
from US $30.60 |
||
|
8
|
8
38611-RSR-E01
Fan comp
|
38611-RSR-E01 |
— | ||
|
9
|
9
38615-RSR-E01
Shroud comp.
|
38615-RSR-E01 |
— | ||
|
10
|
10
38616-RSR-E01
Motor
|
38616-RSR-E01 |
— | ||
|
11
|
11
90041-P3G-003 Screw-washer5X11 |
90041-P3G-003 |
US $1.41 |
||
|
12
|
12
90042-PAA-A01 Bolt-washer6X16 (DENSO) |
90042-PAA-A01 |
US $1.47 |
||
|
13
|
13
90043-PD2-003 NutHEX., 5MM (DENSO) |
90043-PD2-003 |
from US $2.44 |
||
|
14
|
14
91307-RZA-007 O-ring |
91307-RZA-007 |
from US $1.88 |