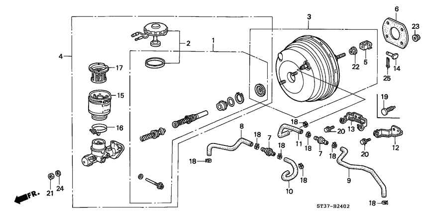
Brake master cylinder (ABS; '95) Diagram Honda CIVIC
- Year
- 1995
- Model code
- CIVIC
- Sales region
- General
- Engine
- D16Y
- transmission
- 5MT
- Number of doors
- 5
- grade
- 1.6ISR
- abs
- +
- area code
- KE
- right-hand drive
- +
- sunroof
- +
- power window
- +
- srs driver & passenger
- +
- alloy wheel disk
- +
Difficulties in parts search?
Difficulties in parts search?
| Description | OEM Part # | Price | |||
|---|---|---|---|---|---|
|
1
|
1
01462-ST3-E50
Cylinder set
|
01462-ST3-E50 |
— | ||
|
2
|
2
46011-ST3-E00
Cap set
|
46011-ST3-E00 |
— | ||
|
3
|
3
46012-ST3-E10
Power set
|
46012-ST3-E10 |
— | ||
|
4
|
4
46100-ST3-E51
Cylinder assy.
|
46100-ST3-E51 |
— | ||
|
5
|
5
46151-SB2-003 YokePUSH ROD (NISSIN) |
46151-SB2-003 |
US $18.92 |
||
|
6
|
6
46191-SN7-000
Packing
|
46191-SN7-000 |
— | ||
|
7
|
7
46403-SE0-003
Valve comp.
|
46403-SE0-003 |
— | ||
|
9
|
9
46404-SR3-010
Tube a
|
46404-SR3-010 |
— | ||
|
11
|
11
46405-SR3-J01
Tube b
|
46405-SR3-J01 |
— | ||
|
12
|
12
46406-ST3-E00
Stay
|
46406-ST3-E00 |
— | ||
|
14
|
14
46512-SB2-000 PinPEDAL |
46512-SB2-000 |
US $4.22 |
||
|
15
|
15
46660-SE3-013
Tank
|
46660-SE3-013 |
— | ||
|
16
|
16
46665-ST5-003 BandRESERVE TANK |
46665-ST5-003 |
US $5.88 |
||
|
17
|
17
46666-SE3-013
Filter
|
46666-SE3-013 |
— | ||
|
18
|
18
53729-671-003 Clamp d15.5MM |
53729-671-003 |
from US $3.74 |
||
|
19
|
19
90852-671-003 PlugHOLE |
90852-671-003 |
US $1.68 |
||
|
20
|
20
93402-060-120-8 Bolt-washer6X12 |
93402-060-120-8 |
from US $0.52 |
||
|
21
|
21
94001-080-800-S NutHEX., 8MM |
94001-080-800-S |
from US $0.44 |
||
| replacement | |||||
|
21
|
21
94001-080-000-S NutHEX., 8MM |
94001-080-000-S |
from US $0.40 |
||
|
22
|
22
94050-08080 NUT, FLANGE, 8MM |
94050-08080 |
from US $0.52 |
||
|
23
|
23
94070-08080 Nut-washer8MM |
94070-08080 |
from US $0.52 |
||
|
24
|
24
94111-08800 WasherSPRING, 8MM |
94111-08800 |
from US $0.37 |
||
|
25
|
25
94201-20220 Pin 2.0X22SPLIT, 2.0X22 |
94201-20220 |
US $0.44 |
||
| replacement | |||||
|
25
|
25
9420120350 Pin, cotter (2.0x35) |
9420120350 |
from US $0.44 |
||