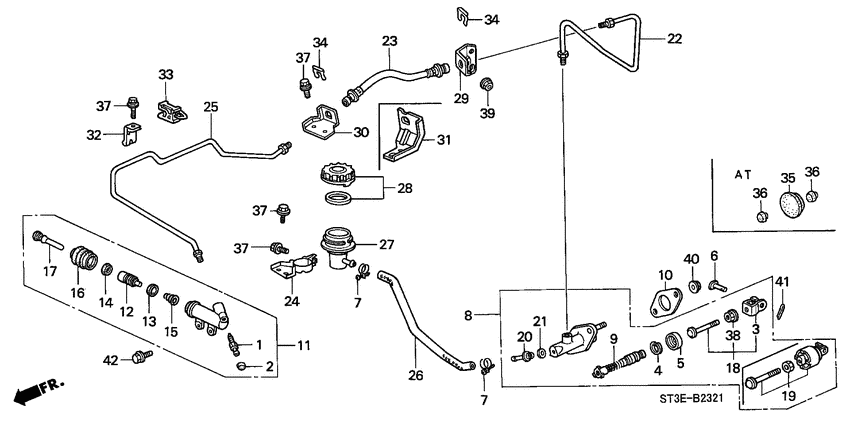
Clutch master cylinder (RH) Diagram Honda CIVIC

Year
1999
Model code
CIVIC
Sales region
General
Engine
D14Z
transmission
4AT
Number of doors
5
grade
1.4I
abs
+
area code
KE
right-hand drive
+
sunroof
+
power window
+
air conditioner (dealer set)
+
srs driver & passenger
+
key less entry
+

Difficulties in parts search?

Parts list
Clutch master cylinder

Difficulties in parts search?

Clutch master cylinder
Description OEM Part # Price
35
35

90851-SR3-981

Plug

HOLE, 38MM

90851-SR3-981

US $2.38

36
36
90851-ST3-E00
Plug

90851-ST3-E00

Clutch master cylinder (RH) Diagram Honda CIVIC General 7058523-544233