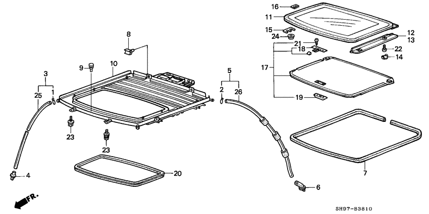
Sliding roof (FRAME) Diagram Honda CIVIC SHUTTLE
- Year
- 1995
- Model code
- CIVIC SHUTTLE
- Sales region
- General
- Engine
- D16Z
- transmission
- 5MT
- Number of doors
- 5
- grade
- 1.6I-4WD
- area code
- KW
- left-hand drive
- +
- power window
- +
- 4wd
- +
Difficulties in parts search?
Difficulties in parts search?
| Description | OEM Part # | Price | |||
|---|---|---|---|---|---|
|
1
|
1
15707-634-000 ClipOIL DRAIN TUBE |
15707-634-000 |
from US $2 |
||
|
2
|
2
18534-634-670 ClipAIR HOSE, 16MM |
18534-634-670 |
from US $1.68 |
||
|
3
|
3
70050-SH3-000
Tube
|
70050-SH3-000 |
— | ||
|
4
|
4
70052-SH3-000
Valve
|
70052-SH3-000 |
— | ||
|
5
|
5
70060-SH3-010
Tube
|
70060-SH3-010 |
— | ||
|
6
|
6
70062-SH3-000
Valve
|
70062-SH3-000 |
— | ||
|
7
|
7
70080-SH3-003
Seal
|
70080-SH3-003 |
— | ||
|
8
|
8
70090-SG0-000
Stopper
|
70090-SG0-000 |
— | ||
|
9
|
9
70091-SH3-000
Stopper
|
70091-SH3-000 |
— | ||
|
10
|
10
70100-SH3-000
Frame comp
|
70100-SH3-000 |
— | ||
|
11
|
11
70200-SH5-000
Glass assy
|
70200-SH5-000 |
— | ||
|
12
|
12
70620-SH3-000
Cover
|
70620-SH3-000 |
— | ||
|
13
|
13
70625-SH3-000
Cover
|
70625-SH3-000 |
— | ||
|
14
|
14
71986-692-920
Cap
|
71986-692-920 |
— | ||
|
15
|
15
71997-SB0-920
Shim
|
71997-SB0-920 |
— | ||
|
15
|
15
71998-SB0-920
Shim
|
71998-SB0-920 |
— | ||
|
16
|
16
71997-692-920
Shim
|
71997-692-920 |
— | ||
|
16
|
16
71998-692-920
Shim
|
71998-692-920 |
— | ||
|
17
|
17
83210-SH4-020ZC
Sunshade assy. *nh91l*
|
83210-SH4-020ZC |
— | ||
|
18
|
18
83213-SH3-000
Washer comp
|
83213-SH3-000 |
— | ||
|
19
|
19
83214-SF1-000ZA
Handle *nh91l*
|
83214-SF1-000ZA |
— | ||
|
20
|
20
83250-SH3-000ZB
Trim
|
83250-SH3-000ZB |
— | ||
|
21
|
21
90102-SA4-000 ScrewTAPPING, 4X16 |
90102-SA4-000 |
US $0.80 |
||
| replacement | |||||
|
21
|
21
93913-14480 ScrewTAPPING, 4X16 (PO) |
93913-14480 |
from US $0.37 |
||
|
22
|
22
90110-SH3-000 ScrewPAN, 5X8 (STAY COVER) |
90110-SH3-000 |
from US $2.16 |
||
|
23
|
23
93405-060-160-8 Bolt-washer6X16 |
93405-060-160-8 |
from US $0.59 |
||
|
24
|
24
94050-06000 NutFLANGE, 6MM |
94050-06000 |
from US $0.52 |
||
|
25
|
25
95003-331-201-0 TubeVINYL, 10X14X1200 (95003-33003-10M) |
95003-331-201-0 |
US $4.74 |
||
|
26
|
26
95003-451-401-0 TubeVINYL, 14X18X1400 (95003-45003-10M) |
95003-451-401-0 |
from US $6.96 |
||