Rear driveshaft Diagram Honda CIVIC SHUTTLE
- Year
- 1993
- Model code
- CIVIC SHUTTLE
- Sales region
- General
- Engine
- D16Z
- transmission
- 4AT
- Number of doors
- 5
- grade
- 1.6I-4WD
- area code
- KX
- left-hand drive
- +
- power window
- +
- air conditioner (dealer set)
- +
- 4wd
- +
Difficulties in parts search?
Parts list
Difficulties in parts search?
| Description | OEM Part # | Price | |||
|---|---|---|---|---|---|
|
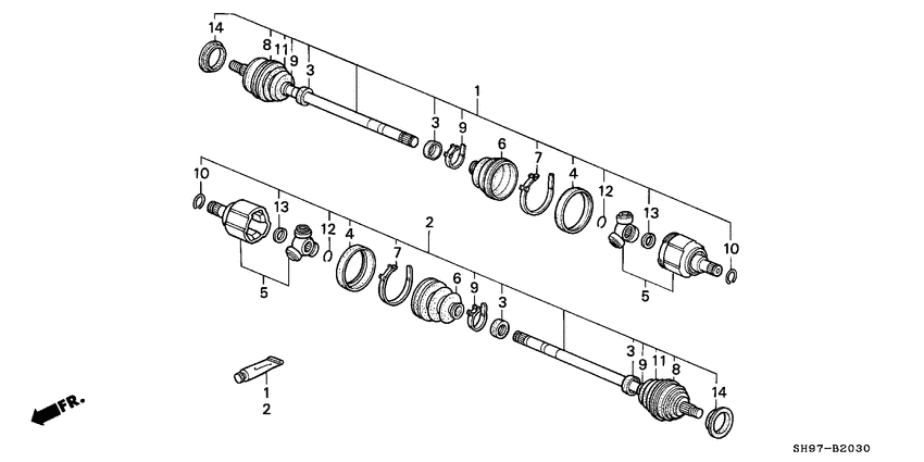
1
|
1
42010-SH9-020
Driveshaft set
|
42010-SH9-020 |
— | ||
|
2
|
2
42011-SH9-020
Driveshaft set
|
42011-SH9-020 |
— | ||
|
3
|
3
42342-SH9-300 CoverBOOT BAND |
42342-SH9-300 |
US $4.90 |
||
|
4
|
4
42343-SH9-300
Cover
|
42343-SH9-300 |
— | ||
|
5
|
5
44310-SH3-900
Joint comp
|
44310-SH3-900 |
— | ||
|
6
|
6
44315-SA7-003
Boot
|
44315-SA7-003 |
— | ||
|
7
|
7
44316-SA7-320 BandINBOARD BOOT |
44316-SA7-320 |
US $12.74 |
||
|
8
|
8
44317-SA7-300
Band
|
44317-SA7-300 |
— | ||
|
9
|
9
44318-SA7-300 BandDRIVESHAFT BOOT |
44318-SA7-300 |
from US $10.78 |
||
|
10
|
10
44319-SA2-000
Set ring
|
44319-SA2-000 |
— | ||
|
11
|
11
44333-SA7-013 BootOUTBOARD (NOK) |
44333-SA7-013 |
US $32.26 |
||
|
12
|
12
44336-SA7-300 RingINBOARD STOPPER |
44336-SA7-300 |
US $2.52 |
||
|
13
|
13
44338-SA7-300 Circlip22MM |
44338-SA7-300 |
US $2.45 |
||
|
14
|
14
44347-SB2-003 RingOUTBOARD |
44347-SB2-003 |
US $5.32 |