Control device (PGM-FI; 1.6L; 1) Diagram Honda CONCERTO
- Year
- 1990
- Model code
- CONCERTO
- Sales region
- General
- Engine
- D16A
- transmission
- 5MT
- Number of doors
- 4
- grade
- 1.6I-16
- abs
- +
- area code
- KR
- left-hand drive
- +
Difficulties in parts search?
Parts list
Difficulties in parts search?
| Description | OEM Part # | Price | |||
|---|---|---|---|---|---|
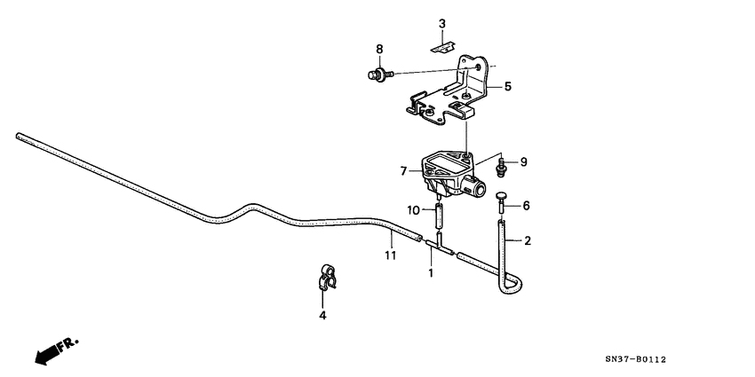
|
1
|
1
36010-PA6-004 JointTHREE WAY |
36010-PA6-004 |
from US $6.51 |
||
|
2
|
2
36011-PP4-E01
Tube
|
36011-PP4-E01 |
— | ||
|
3
|
3
36022-PP4-E01
Label
|
36022-PP4-E01 |
— | ||
|
4
|
4
36024-PP4-E01
Clamp
|
36024-PP4-E01 |
— | ||
|
5
|
5
36033-PW1-G01
Stay
|
36033-PW1-G01 |
— | ||
|
6
|
6
36034-PE7-661
Plug
|
36034-PE7-661 |
— | ||
|
7
|
7
37830-PK2-003
Sensor assy
|
37830-PK2-003 |
— | ||
|
8
|
8
93405-060-120-8 Bolt-washer6X12 |
93405-060-120-8 |
from US $0.59 |
||
|
9
|
9
93893-050-120-7 Screw-washer5X12 |
93893-050-120-7 |
from US $0.52 |
||
|
10
|
10
95005-350-301-0 Tube3.5X30(95005-35001-10M) |
95005-350-301-0 |
US $0.89 |
||
|
11
|
11
95005-355-001-M Tube3.5X500 (95005-35001-10M) |
95005-355-001-M |
US $5.03 |