Front lower arm Diagram Honda JAZZ
- Year
- 1984
- Model code
- JAZZ
- Sales region
- General
- Engine
- ER1
- transmission
- 5MT
- Number of doors
- 3
- grade
- DX
- area code
- KF
- left-hand drive
- +
- yellow bulb
- +
- master power
- +
Difficulties in parts search?
Parts list
Difficulties in parts search?
| Description | OEM Part # | Price | |||
|---|---|---|---|---|---|
|
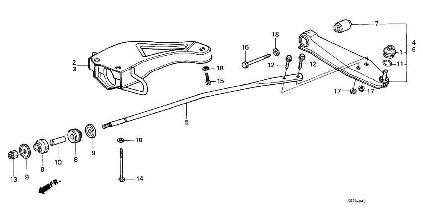
1
|
1
51225-671-003 BootSUSPENSION BALL |
51225-671-003 |
US $13.82 |
||
|
2
|
2
51250-SA7-730
Bracket comp.
|
51250-SA7-730 |
— | ||
|
3
|
3
51260-SA7-730
Bracket comp.
|
51260-SA7-730 |
— | ||
|
4
|
4
51350-SA7-730
Arm comp
|
51350-SA7-730 |
— | ||
|
5
|
5
51352-SA7-010
Rod
|
51352-SA7-010 |
— | ||
|
6
|
6
51360-SA7-730
Arm comp
|
51360-SA7-730 |
— | ||
|
7
|
7
51393-692-014
Bush
|
51393-692-014 |
— | ||
| replacement | |||||
|
7
|
7
51393-SH3-003
Bush
|
51393-SH3-003 |
— | ||
|
8
|
8
51395-671-004
Bush
|
51395-671-004 |
— | ||
| replacement | |||||
|
8
|
8
51395-SH3-003
Bush
|
51395-SH3-003 |
— | ||
|
9
|
9
51398-SA7-000
Washer b
|
51398-SA7-000 |
— | ||
|
10
|
10
51398-671-000
Collar
|
51398-671-000 |
— | ||
|
11
|
11
53548-611-003
Circlip
|
53548-611-003 |
— | ||
|
12
|
12
90004-SA7-000 BoltFR. RADIUS ROD (10X28) |
90004-SA7-000 |
US $2.80 |
||
|
13
|
13
90006-SA7-000 NutSELF-LOCK, 12MM |
90006-SA7-000 |
US $2.87 |
||
|
14
|
14
90010-SA7-000
Bolt
|
90010-SA7-000 |
— | ||
|
15
|
15
90011-SA7-000
Bolt
|
90011-SA7-000 |
— | ||
|
16
|
16
90117-SA7-003
Bolt
|
90117-SA7-003 |
— | ||
|
17
|
17
90212-SA7-010 NutSELF-LOCK, 10MM |
90212-SA7-010 |
from US $0.94 |
||
|
18
|
18
94111-10800 WasherSPRING, 10MM |
94111-10800 |
from US $0.44 |
||