Radiator (TOYO) Diagram Honda JAZZ
- Year
- 1984
- Model code
- JAZZ
- Sales region
- General
- Engine
- ER1
- transmission
- 5MT
- Number of doors
- 3
- grade
- DX
- area code
- KF
- left-hand drive
- +
- yellow bulb
- +
- master power
- +
Difficulties in parts search?
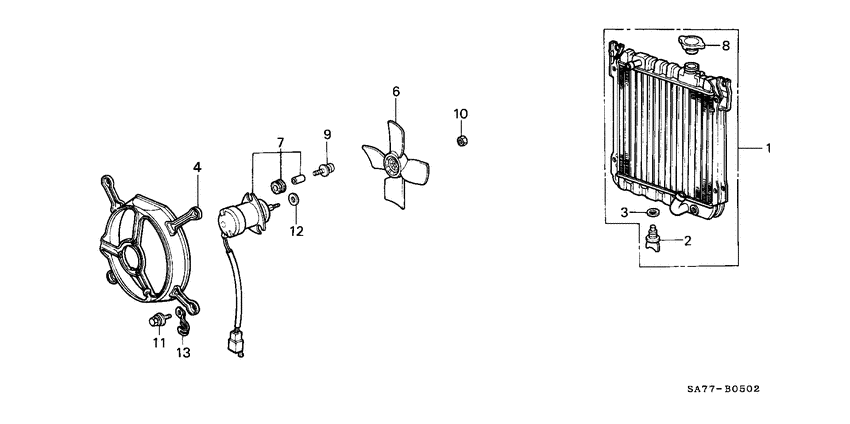
Parts list
Difficulties in parts search?
| Description | OEM Part # | Price | |||
|---|---|---|---|---|---|
|
1
|
1
19010-PC0-004 Radiator compTOYO |
19010-PC0-004 |
US $739.84 |
||
|
2
|
2
19011-PA0-004 CockDRAIN (TOYO) |
19011-PA0-004 |
from US $7.28 |
||
|
3
|
3
19012-PA0-004 PackingDRAIN (TOYO) |
19012-PA0-004 |
from US $5.48 |
||
|
4
|
4
19015-PC0-024
Shroud comp
|
19015-PC0-024 |
— | ||
|
6
|
6
19020-PC0-014
Fan comp
|
19020-PC0-014 |
— | ||
|
7
|
7
19030-PE8-603
Motor
|
19030-PE8-603 |
— | ||
|
8
|
8
19045-PA0-014 Cap comp.RADIATOR (TOYO) |
19045-PA0-014 |
US $36.86 |
||
| replacement | |||||
|
8
|
8
19045-692-003 Cap comp.RADIATOR (DENSO) |
19045-692-003 |
from US $33.46 |
||
|
9
|
9
90041-PA6-004 Screw-washer4X18 (TOYO) |
90041-PA6-004 |
US $2.94 |
||
|
11
|
11
90042-PE0-004
Bolt-washer
|
90042-PE0-004 |
— | ||
|
13
|
13
91405-892-000
Clip A
|
91405-892-000 |
— | ||