P.s. gear box (HPS; LH) Diagram Honda LEGEND
- Year
- 2010
- Model code
- LEGEND
- Sales region
- General
- Engine
- J37A
- transmission
- 5AT
- Number of doors
- 4
- grade
- LEGEND
- area code
- KY
- left-hand drive
- +
Difficulties in parts search?
Difficulties in parts search?
| Description | OEM Part # | Price | |||
|---|---|---|---|---|---|
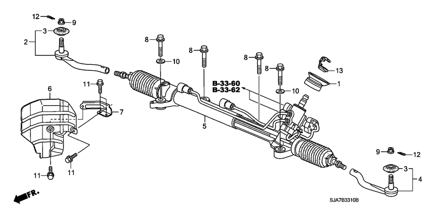
|
1
|
1
53502-SJA-A01 Grommet bSTEERING |
53502-SJA-A01 |
US $8.96 |
||
|
2
|
2
53540-SJA-014 End compR. TIE ROD |
53540-SJA-014 |
US $130.90 |
||
|
3
|
3
53546-SJA-004 BootTIE ROD END |
53546-SJA-004 |
US $9.38 |
||
|
4
|
4
53560-SJA-014 End compL. TIE ROD |
53560-SJA-014 |
US $130.90 |
||
|
5
|
5
53601-SJA-A05 Box compPOWER STEERING GEAR |
53601-SJA-A05 |
US $1,331.20 |
||
|
6
|
6
53692-SJA-010 PlatePOWER STEERING HEAT BAFFLE |
53692-SJA-010 |
US $26.88 |
||
|
7
|
7
53693-SJA-000
Stay
|
53693-SJA-000 |
— | ||
|
8
|
8
90108-SJA-003 BoltGEAR BOX MOUNTING |
90108-SJA-003 |
US $3.50 |
||
|
9
|
9
90307-SJA-003 NutFLANGE, 12MM |
90307-SJA-003 |
US $5.04 |
||
|
10
|
10
90506-SEP-A00
Washer
|
90506-SEP-A00 |
— | ||
|
11
|
11
93401-060-160-5 Bolt-washer6X16 |
93401-060-160-5 |
from US $0.52 |
||
|
12
|
12
94201-30220 Pin, SPLIT, 3.0X22 |
94201-30220 |
from US $0.44 |
||
|
13
|
13
53326-SJA-A02 CapINPUT SHAFT |
53326-SJA-A02 |
US $2.87 |