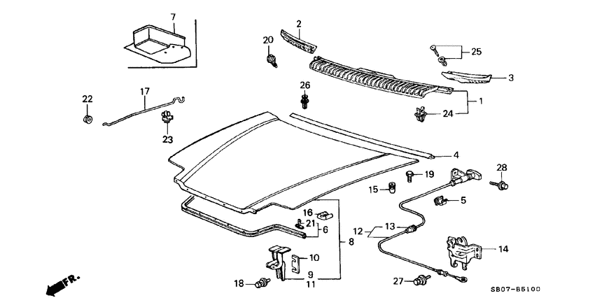
Hood Diagram Honda PRELUDE
- Year
- 1983
- Model code
- PRELUDE
- Sales region
- General
- Engine
- ET
- transmission
- 5MT
- Number of doors
- 2
- grade
- EX
- area code
- KX
- sunroof
- +
- air conditioner (dealer set)
- +
- rear wiper
- +
Difficulties in parts search?
Difficulties in parts search?
| Description | OEM Part # | Price | |||
|---|---|---|---|---|---|
|
1
|
1
60641-SB0-671 GrilleAIRSCOOP |
60641-SB0-671 |
US $186.88 |
||
|
2
|
2
60642-SB0-000
Grille
|
60642-SB0-000 |
— | ||
|
3
|
3
60643-SB0-670
Grille
|
60643-SB0-670 |
— | ||
|
4
|
4
60647-SB0-670
Rubber
00000000 - 0C021412 |
60647-SB0-670 |
— | ||
|
4
|
4
60647-SB0-671 RubberHOOD SEAL 0C021413 - |
60647-SB0-671 |
US $19.33 |
||
|
5
|
5
60686-SB0-003
Clip
|
60686-SB0-003 |
— | ||
|
6
|
6
60895-SB0-000
Rubber
|
60895-SB0-000 |
— | ||
|
7
|
7
61130-SB0-670
Shelter assy.
00000000 - 0C012399 |
61130-SB0-670 |
— | ||
|
8
|
8
63110-SB0-600ZZ Hood comp.ENGINE |
63110-SB0-600ZZ |
US $911.36 |
||
|
9
|
9
63410-SB0-300ZZ
Hinge comp
|
63410-SB0-300ZZ |
— | ||
|
10
|
10
63415-SA5-000
Shim
|
63415-SA5-000 |
— | ||
|
11
|
11
63420-SB0-300ZZ
Hinge comp
|
63420-SB0-300ZZ |
— | ||
|
12
|
12
63450-SB0-730
Wire comp
|
63450-SB0-730 |
— | ||
|
13
|
13
63455-SA0-000 GrommetHOOD WIRE |
63455-SA0-000 |
US $2.80 |
||
|
14
|
14
63510-SB0-670 Lock assyHOOD |
63510-SB0-670 |
US $46.98 |
||
|
15
|
15
63511-SA5-003
Cushion
|
63511-SA5-003 |
— | ||
|
16
|
16
63511-693-000
Cushion
|
63511-693-000 |
— | ||
|
17
|
17
63512-SB0-670
Stay
|
63512-SB0-670 |
— | ||
|
18
|
18
90105-634-000 Bolt-washer (8x20)8x20 |
90105-634-000 |
US $3.02 |
||
|
19
|
19
90112-SB0-003
Bolt
|
90112-SB0-003 |
— | ||
|
20
|
20
90113-SB0-000
Screw
|
90113-SB0-000 |
— | ||
|
21
|
21
90664-671-003 ClipCANOE |
90664-671-003 |
from US $3.40 |
||
|
22
|
22
90670-SA0-000 GrommetHOOD STAY |
90670-SA0-000 |
US $2.41 |
||
|
23
|
23
90672-SB0-003
Holder
|
90672-SB0-003 |
— | ||
|
24
|
24
90684-SB0-003
Clip
|
90684-SB0-003 |
— | ||
|
25
|
25
90687-SB0-003 ClipAIRSCOOP GRILLE (BLACK) |
90687-SB0-003 |
US $4.35 |
||
| replacement | |||||
|
25
|
25
90687-SB2-901ZF ClipSIDE GARNISH *NH80M* |
90687-SB2-901ZF |
from US $2.10 |
||
|
26
|
26
90688-SB0-003 Clip bAIRSCOOP |
90688-SB0-003 |
US $2.24 |
||
|
27
|
27
93493-060-200-8 Bolt-washer6X20 |
93493-060-200-8 |
from US $0.59 |
||
| replacement | |||||
|
27
|
27
93403-060-200-8 Bolt-washer6X20 |
93403-060-200-8 |
from US $0.62 |
||
|
28
|
28
93891-060-160-8 Screw-washer6X16 |
93891-060-160-8 |
from US $0.52 |
||