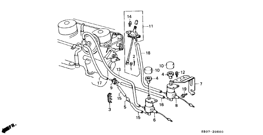
Air conditioner (1; CARBURETOR COMPONENTS) Diagram Honda PRELUDE
- Year
- 1983
- Model code
- PRELUDE
- Sales region
- General
- Engine
- ET
- transmission
- 4AT
- Number of doors
- 2
- grade
- EX
- power steering
- +
- area code
- KY
- sunroof
- +
- navigation
- +
- air conditioner (manual)
- +
Difficulties in parts search?
Difficulties in parts search?
| Description | OEM Part # | Price | |||
|---|---|---|---|---|---|
|
1
|
1
16203-657-300
Washer
|
16203-657-300 |
— | ||
|
2
|
2
16204-657-300 PinSPLIT |
16204-657-300 |
US $2.45 |
||
|
3
|
3
17361-PC6-000 ClampTUBE, 7.5X3 |
17361-PC6-000 |
US $1.68 |
||
|
4
|
4
36138-PA0-004 Filter assySOLENOID VALVE |
36138-PA0-004 |
US $29.56 |
||
|
5
|
5
36145-PA6-661
Valve
|
36145-PA6-661 |
— | ||
| replacement | |||||
|
5
|
5
36145-PM4-004 ValveCHECK |
36145-PM4-004 |
from US $18.50 |
||
|
6
|
6
36162-PC7-791
Valve assy.
|
36162-PC7-791 |
— | ||
|
7
|
7
36410-PC7-790
Stay
|
36410-PC7-790 |
— | ||
|
8
|
8
38771-PA6-014
Valve assy.
|
38771-PA6-014 |
— | ||
|
9
|
9
38773-PA5-003
Joint
|
38773-PA5-003 |
— | ||
|
10
|
10
38776-671-000 CapAIR FILTER |
38776-671-000 |
from US $3.29 |
||
|
11
|
11
38780-PC6-005
Control set
|
38780-PC6-005 |
— | ||
|
12
|
12
90092-657-000 Screw-washer5X8 |
90092-657-000 |
from US $1.32 |
||
|
13
|
13
91442-PC7-790
Tube comp
|
91442-PC7-790 |
— | ||
|
14
|
14
93892-050-100-8 Screw-washer5X10 |
93892-050-100-8 |
from US $0.44 |
||
|
15
|
15
95005-350-401-2 Tube3.5X40 (95005-35001-10M) |
95005-350-401-2 |
from US $0.89 |
||
|
16
|
16
95005-350-801-2 Tube3.5X80 (95005-35001-10M) |
95005-350-801-2 |
US $1.18 |
||
|
17
|
17
95005-352-601-2 Tube3.5X260 (95005-35001-10M) |
95005-352-601-2 |
US $3.26 |
||
|
18
|
18
95005-353-001-0 Tube3.5X300 (95005-35001-10M) |
95005-353-001-0 |
US $3.26 |
||
|
19
|
19
95800-060-100-8 BoltFLANGE, 6X10 |
95800-060-100-8 |
US $1.39 |
||
| replacement | |||||
|
19
|
19
95700-060-100-8 BoltFLANGE, 6X10 |
95700-060-100-8 |
US $24.80 |
||