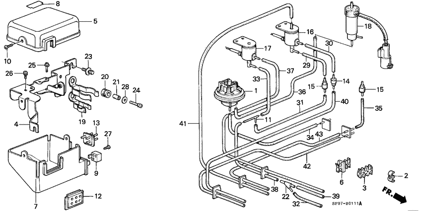
No.2 control box Diagram Honda PRELUDE
- Year
- 1985
- Model code
- PRELUDE
- Sales region
- General
- Engine
- ET2
- transmission
- 5MT
- Number of doors
- 2
- grade
- EX
- power steering
- +
- area code
- KG
- catalyst
- +
- sunroof (glass)
- +
Difficulties in parts search?
Difficulties in parts search?
| Description | OEM Part # | Price | |||
|---|---|---|---|---|---|
|
1
|
1
17290-PC7-661
Valve assy.
|
17290-PC7-661 |
— | ||
|
2
|
2
17339-PD2-000 ClampTUBE |
17339-PD2-000 |
US $2.66 |
||
|
3
|
3
17363-PC7-660 ClampTUBE, 6.5X6 |
17363-PC7-660 |
US $2.80 |
||
|
4
|
4
18721-PC7-661
Base
|
18721-PC7-661 |
— | ||
|
5
|
5
18722-PC7-661
Cover
|
18722-PC7-661 |
— | ||
|
6
|
6
18723-PC7-660
Clamp
|
18723-PC7-660 |
— | ||
|
7
|
7
18725-PC7-661
Cover
|
18725-PC7-661 |
— | ||
|
8
|
8
18727-PC7-661
Label
|
18727-PC7-661 |
— | ||
|
9
|
9
18737-PC7-661
Cord assy
|
18737-PC7-661 |
— | ||
|
10
|
10
18813-PA6-681 Screw-washer5X8 |
18813-PA6-681 |
US $2.45 |
||
|
11
|
11
36016-PC7-661
Joint
|
36016-PC7-661 |
— | ||
|
12
|
12
36024-PC7-661 Holder aTUBE |
36024-PC7-661 |
US $8.26 |
||
|
13
|
13
36025-PC7-661
Holder b
|
36025-PC7-661 |
— | ||
|
14
|
14
36135-PA6-661
Valve
|
36135-PA6-661 |
— | ||
|
15
|
15
36145-PA6-661
Valve
|
36145-PA6-661 |
— | ||
| replacement | |||||
|
15
|
15
36145-PM4-004 ValveCHECK |
36145-PM4-004 |
from US $18.50 |
||
|
16
|
16
36162-PC7-661
Valve assy.
|
36162-PC7-661 |
— | ||
|
17
|
17
36165-PC7-661
Valve assy.
|
36165-PC7-661 |
— | ||
|
18
|
18
36190-PC7-661
Valve assy. b
|
36190-PC7-661 |
— | ||
|
19
|
19
36191-PC7-660
Clamp b
|
36191-PC7-660 |
— | ||
|
20
|
20
36197-PC7-660
Rubber
|
36197-PC7-660 |
— | ||
|
21
|
21
36198-PC7-660
Collar
|
36198-PC7-660 |
— | ||
|
22
|
22
38773-PA5-003
Joint
|
38773-PA5-003 |
— | ||
|
23
|
23
93495-060-160-8 Bolt-washer6X16 |
93495-060-160-8 |
US $1.63 |
||
| replacement | |||||
|
23
|
23
93405-060-160-8 Bolt-washer6X16 |
93405-060-160-8 |
from US $0.59 |
||
|
24
|
24
93500-050-160-H ScrewPAN, 5X16 |
93500-050-160-H |
from US $0.37 |
||
|
25
|
25
93892-040-080-8 Screw-washer4X8 |
93892-040-080-8 |
from US $0.49 |
||
|
26
|
26
93892-050-101-8 Screw-washer5X10 |
93892-050-101-8 |
from US $0.44 |
||
|
27
|
27
93903-32120 ScrewTAPPING, 3X8 |
93903-32120 |
US $0.37 |
||
|
28
|
28
94101-05800 WasherPLAIN, 5MM |
94101-05800 |
from US $0.37 |
||
|
29
|
29
95005-350-354-L
Tube
|
95005-350-354-L |
— | ||
|
30
|
30
95005-350-404-6 Tube3.5X40 (95005-35001-10M) |
95005-350-404-6 |
US $0.89 |
||
| replacements | |||||
|
30
|
30
95005-350-702-0
Tube
|
95005-350-702-0 |
— | ||
|
30
|
30
95005-350-0120M Bulk hose (3.5x1000) |
95005-350-0120M |
from US $5.70 |
||
|
31
|
31
95005-350-754-L Tube3.5X75 (95005-35001-10M) |
95005-350-754-L |
US $1.18 |
||
| replacement | |||||
|
31
|
31
95005-350-751-L Tube3.5X75 (95005-35001-10M) |
95005-350-751-L |
US $1.18 |
||
|
32
|
32
95005-350-804-L Tube3.5X80 (95005-35001-10M) |
95005-350-804-L |
US $1.18 |
||
| replacement | |||||
|
32
|
32
95005-350-801-L Tube3.5X80 (95005-35001-10M) |
95005-350-801-L |
US $1.18 |
||
|
33
|
33
95005-350-954-L
Tube
|
95005-350-954-L |
— | ||
| replacement | |||||
|
33
|
33
95005-350-951-L Tube,3.5x95 |
95005-350-951-L |
US $1.18 |
||
|
34
|
34
95005-351-354-Q Tube3.5X135 (95005-35001-10M) |
95005-351-354-Q |
US $1.55 |
||
| replacement | |||||
|
34
|
34
95005-351-351-Q Tube,3.5x135 |
95005-351-351-Q |
US $1.55 |
||
|
35
|
35
95005-351-504-2
Tube
|
95005-351-504-2 |
— | ||
|
36
|
36
95005-352-251-W Tube3.5X225 (95005-35001-10M) |
95005-352-251-W |
US $2.81 |
||
|
37
|
37
95005-352-854-M Tube3.5X285 (95005-35001-10M) |
95005-352-854-M |
US $3.26 |
||
| replacement | |||||
|
37
|
37
95005-352-851-M Tube3.5X285 (95005-35001-10M) |
95005-352-851-M |
US $3.26 |
||
|
38
|
38
95005-353-004-L Tube3.5X300 (95005-35001-10M) |
95005-353-004-L |
US $3.26 |
||
| replacement | |||||
|
38
|
38
95005-353-001-L Tube, 3.5x300 |
95005-353-001-L |
US $3.26 |
||
|
39
|
39
95005-353-504-L Tube3.5X350 (95005-35001-10M) |
95005-353-504-L |
US $3.85 |
||
| replacement | |||||
|
39
|
39
95005-353-501-L Tube3.5X350 (95005-35001-10M) |
95005-353-501-L |
US $3.85 |
||
|
40
|
40
95005-353-704-6 Tube3.5X370 (95005-35001-10M) |
95005-353-704-6 |
US $4.14 |
||
| replacement | |||||
|
40
|
40
95005-353-701-6 Tube,3.5x370 |
95005-353-701-6 |
US $4.14 |
||
|
41
|
41
95005-353-804-3 Tube3.5X380 (95005-35001-10M) |
95005-353-804-3 |
US $4.14 |
||
|
42
|
42
95005-354-204-S Tube3.5X420 (95005-35001-10M) |
95005-354-204-S |
US $4.74 |
||
| replacement | |||||
|
42
|
42
95005-354-201-S Tube (3.5x420) |
95005-354-201-S |
US $4.74 |
||
|
43
|
43
95005-355-904-2 Tube3.5X590 (95005-35001-10M) |
95005-355-904-2 |
US $6.07 |
||